Mi, 17. Dezember 2025, 04:41    |  Login:  User Passwort    Anmelden    Passwort vergessen
Arbeitsplattform NEWS URTEILE GESETZE/VO KOMMENTARE VIDEOS SITEINFO/IMPRESSUM NEWSLETTER
Achtung! Die Seite wird derzeit nicht aktualisiert. Die Inhalte sind im wesentlichen auf dem Stand 31.12.2011
Text des Urteils
X ZR 28/06;
Verkündet am: 
 22.12.2009
BGH Bundesgerichtshof
 

Vorinstanzen:
2 Ni 9/04
Bundespatentgericht
;
Rechtskräftig: unbekannt!
Passage in Patent-Beschreibung, die nicht Inhalt der ursprünglichen Unterlagen gewesen ist, kann ausnahmsweise Nichtigkeitsgrund der unzulässigen Erweiterung begründen
Leitsatz des Gerichts:
PatG §§ 22 Abs. 1, 21 Abs. 1 Nr. 4

Eine Passage in der Beschreibung, die nicht Inhalt der ursprünglichen Unterlagen gewesen ist, kann nur dann den Nichtigkeitsgrund der unzulässigen Erweiterung begründen, wenn deren Berücksichtigung bei der Auslegung des Patentanspruchs des erteilten Patents zu einem veränderten Verständnis der darin verwendeten Begriffe oder des geschützten Gegenstands führt.
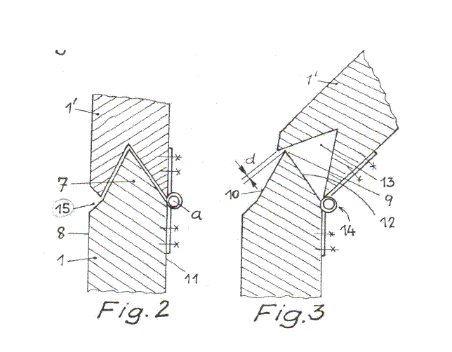
Der X. Zivilsenat des Bundesgerichtshofs hat auf die mündliche Verhandlung vom 22. Dezember 2009 durch den Vorsitzenden Richter Scharen und die Richter Asendorf, Gröning, Dr. Berger und Dr. Grabinski für Recht erkannt:

Die von der Nebenintervenientin unterstützte Berufung der Beklagten gegen das am 29. September 2005 verkündete Urteil des 2. Senats (Nichtigkeitssenats) des Bundespatentgerichts wird zurückgewiesen.

Auf die Berufung der Klägerin zu 3 wird das am 29. September 2005 verkündete Urteil des 2. Senats (Nichtigkeitssenats) des Bundespatentgerichts abgeändert:

Das deutsche Patent 39 43 782 wird mit Wirkung für das Hoheitsgebiet der Bundesrepublik Deutschland für nichtig erklärt, soweit es über folgende Fassung seiner Patentansprüche hinausgeht:

a) Patentanspruch 1

Hubgliedertor mit einer Mehrzahl tafelförmiger Torelemente, die mittels Gelenken, Scharnieren oder dergleichen um horizontal verlaufende Schwenkachsen miteinander verbunden sind, wobei das Tor mit Hilfe von Führungszapfen oder rollen in seitlichen Führungsbahnen gleitet, die das Tor aus einer vertikalen Geschlossenstellung über einen Bogen in eine horizontale Offenstellung führen, wobei an dem oberen Rand (5) jedes Torelements (1) ein Vorsprung (7) vorgesehen ist, der eine bis zu einer Spitze (9) ansteigende Vorderflanke (10) und eine von der Spitze bis zur Hinterfläche (11) des Elementes abfallende Hinterflanke (12) aufweist, wobei an dem unteren Rand (6) des Torelements eine in der Geschlossenstellung dem Vorsprung des benachbarten Torelements aufnehmende Vertiefung (13) vorgesehen ist, und wobei beim Verschwenken der Torelemente (1, 1') im Bogenbereich der Führungsbahn (4) bloß ein Öffnungsabstand (d) auftritt, der das Einklemmen eines Fingers ausschließt, dadurch gekennzeichnet, dass der Vorsprung (7) zahnartig und bezüglich der Tormittenebene im Wesentlichen symmetrisch ausgebildet ist, dass die Vertiefung (13) an den Vorsprung (7) angepasst ist und dass das Gelenk des Scharniers (14) vollständig in der hinteren Ausnehmung (20) aufgenommen ist, wodurch die Schwenkachse (a) dem Vorsprung (7) bzw. der Vertiefung (13) angenähert ist und vor die Hinterflächen der Elemente (1, 1') zu liegen kommt.

b) An Patentanspruch 1 schließen sich die erteilten Patentansprüche 2 bis 6 mit unmittelbarem oder mittelbarem Rückbezug an.

Im Übrigen wird die Berufung der Klägerin zu 3 zurückgewiesen.

Die Klägerin zu 3 und die Beklagte haben die Gerichtskosten, die außergerichtlichen Kosten der Klägerin zu 3 und die außergerichtlichen Kosten der Beklagten jeweils zur Hälfte zu tragen.

Der Beklagten werden die außergerichtlichen Kosten der Klägerinnen zu 1 und 2 auferlegt.

Die Klägerin zu 3 und die Nebenintervenientin haben die durch die Nebenintervention verursachten Kosten jeweils zur Hälfte zu tragen.


Von Rechts wegen

Tatbestand:

1
Die Beklagte war bis zum 7. November 2006 eingetragene Inhaberin des deutschen Patents 39 43 782 (Streitpatents), das ein "Hubgliedertor" betrifft. Seitdem ist die H. KG B. , die dem Berufungsverfahren auf Sei ten der Beklagten als Nebenintervenientin beigetreten ist, als neue Inhaberin des Streitpatents eingetragen.

2
Das Streitpatent ging am 17. Februar 1989 durch Teilung aus der Stammanmeldung 39 04 918.3 (Streitpatentanmeldung) hervor und nimmt die österreichische Prioritätsanmeldung 391/88 vom 18. Februar 1988 in Anspruch. Das Patent 39 04 918 ist Gegenstand eines vor dem Senat unter dem Aktenzeichen X ZR 27/06 geführten Nichtigkeitsberufungsverfahrens. Das Streitpatent erlosch am 17. Februar 2009 infolge Ablaufs der Schutzdauer.

3
In der erteilten Fassung umfasst das Streitpatent sechs Patentansprüche. Patentanspruch 1 hat folgenden Wortlaut:

"Hubgliedertor, mit einer Mehrzahl tafelförmiger Torelemente, die mittels Gelenken, Scharnieren oder dergleichen um horizontal verlaufende Schwenkachsen miteinander verbunden sind, wobei das Tor mit Hilfe von Führungszapfen oder -rollen in seitlichen Führungsbahnen gleitet, die das Tor aus einer vertikalen Geschlossenstellung über einen Bogen in eine horizontale Offenstellung führen, wobei an dem oberen Rand (5) jedes Torelements (1) ein Vorsprung (7) vorgesehen ist, der eine bis zu einer Spitze (9) ansteigende Vorderflanke (10) und eine von der Spitze abfallende Hinterflanke (12) aufweist, wobei an dem unteren Rand (6) des Torelements eine in der Geschlossenstellung dem Vorsprung des benachbarten Torelements aufnehmende Vertiefung (13) vorgesehen ist, und wobei dem Verschwenken der Torelemente (1, 1') im Bogenbereich der Führungsbahn (4) zumindest über einen Teil des Schwenkwinkels bloß ein Öffnungsabstand (d) auftritt, der das Einklemmen eines Fingers ausschließt, dadurch gekennzeichnet, dass der Vorsprung (7) zahnartig ausgebildet ist, dass die Vertiefung (13) an den Vorsprung (7) angepasst ist und dass das Gelenk des Scharniers (14) vollständig in der hinteren Ausnehmung (20) aufgenommen ist, wodurch die Schwenkachse (a) dem Vorsprung (7) bzw. der Vertiefung (13) angenähert ist und vor die Hinterflächen der Elemente (1, 1') zu liegen kommt."

4
Die Klägerinnen bzw. ihre Rechtsvorgänger haben das Streitpatent mit einer Nichtigkeitsklage angegriffen und geltend gemacht, dass der Gegenstand von Patentanspruch 1 über den Inhalt der beim Patentamt ursprünglich eingereichten Anmeldung hinausgehe. Sie haben zudem vorgebracht, dass das Streitpatent gegenüber dem Stand der Technik, wie ihn unter anderem die US-Patentschriften 2 372 792 (Anlage K 7) und 3 891 021 (Anlage K 3) bildeten, nicht patentfähig sei, und beantragt, das Streitpatent in vollem Umfang für nichtig zu erklären. Die Beklagte ist der Klage entgegengetreten.

5
Das Bundespatentgericht hat das Streitpatent durch Urteil vom 29. September 2005 dadurch teilweise für nichtig erklärt, dass es die aus dem Tenor des hiesigen Urteils ersichtliche Fassung erhielt, allerdings mit dem Unterschied, dass in Patentanspruch 1 hinter dem Wort "Führungsbahn (4)" zusätzlich noch die Worte "zumindest über einen Teil des Schwenkbereichs" eingefügt worden sind.

6
Gegen diese Entscheidung wenden sich die Klägerin zu 3 und die Beklagte, die von der Nebenintervenientin unterstützt wird, mit ihren jeweiligen Berufungen.

7
Die Beklagte und die Nebenintervenientin beantragen, das Urteil des Bundespatentgerichts abzuändern und die Nichtigkeitsklage abzuweisen. Hilfsweise beantragen die Beklagte und die Nebenintervenientin, das Streitpatent in der erteilten Fassung mit der Maßgabe aufrechtzuerhalten, dass in Patentanspruch 1 - auch mit Wirkung für die unmittelbar oder mittelbar darauf zurückbezogenen Patentansprüche 2 bis 6 - das Teilmerkmal "zumindest über einen Teil des Schwenkwinkels" gestrichen wird (Hilfsantrag 1), zusätzlich das Teilmerkmal "bis zur Hinterfläche (11) des Elementes" zwischen die Worte "und eine von der Spitze" und "abfallende Hinterflanke (12)" eingefügt wird (Hilfsantrag 2) und weiter zusätzlich das Teilmerkmal "und bezüglich der Tormittenebene im Wesentlichen symmetrisch ausgebildet" zwischen die Worte "dass der Vorsprung (7) zahnartig" und "ist" eingefügt wird (Hilfsantrag 3).

8
Die Klägerin zu 3 beantragt, das Urteil des Bundespatentgerichts abzuändern und das Streitpatent in vollem Umfang für nichtig zu erklären.

9
Im Auftrag des Senats hat Prof. Dr.-Ing. F. , Fachhochschule R. , Leiter des Studiengangs Produktionstechnik, ein schriftliches Gut achten erstattet, das er in der mündlichen Verhandlung erläutert und ergänzt hat.

Entscheidungsgründe:

10
Die zulässige Berufung der Beklagten, die von der Nebenintervenientin unterstützt worden ist, hat keinen Erfolg. Die zulässige Berufung der Klägerin zu 3 bleibt ganz überwiegend erfolglos. Das Bundespatentgericht hat das Streitpatent im Wesentlichen zu Recht teilweise für nichtig erklärt.

11
I. 1. Das Streitpatent betrifft ein Hubgliedertor. Bei diesen werden die Torelemente im Umlenkbereich vom horizontalen zum vertikalen Verlauf gegenseitig verschwenkt, so dass sich deren obere bzw. untere Ränder zunächst voneinander entfernen und dann wieder zusammenkommen. Hierbei besteht die Gefahr, dass Finger eines Benutzers eingeklemmt werden und es zu Verletzungen kommt.

12
Nach den Angaben des Streitpatents waren zwar, etwa aus der österreichischen Patentschrift 382 423, Möglichkeiten bekannt, derartige Verletzungen zu vermeiden. Diese umzusetzen war jedoch verhältnismäßig kostspielig in der Herstellung oder aus optischen Gründen unerwünscht. Der deutschen Offenlegungsschrift 21 06 063 und der österreichischen Patentschrift 369 129 konnte entnommen werden, die einander zugewandten Ränder von Torelementen abzustufen, um im Bereich der Schließstelle eine bessere Wärmedämmung zu erreichen. Dabei war jedoch kein Fingerschutz vorgesehen.

13
Weitere Ausgestaltungen, die aus den USPatentschriften 3 198 242 und 3 941 180 bekannt waren, waren nach den Erläuterungen des Streitpatents verschleißanfällig, aufwändig bei der Montage oder insbesondere bei großen Verschwenkwinkeln unzureichend hinsichtlich des Fingerklemmschutzes.

14
2. Durch das Streitpatent soll ein einfach montierbares Hubgliedertor geschaffen werden, bei dem eine gute und zuverlässige Abdichtung zwischen den einzelnen Elementen gegeben ist und Fingerverletzungen im Umlenkbereich der Torelemente auch bei größeren Verschwenkwinkeln vermieden werden.

15
3. Hierzu lehrt Patentanspruch 1 des Streitpatents in der erteilten Fassung ein Hubgliedertor, dessen Merkmale wie folgt unterteilt werden können:

(1) Hubgliedertor mit einer Mehrzahl tafelförmiger Torelemente (1), die mittels Gelenken, Scharnieren oder dergleichen um horizontal verlaufende Schwenkachsen miteinander verbunden sind;

(2) das Tor gleitet mit Hilfe von Führungszapfen oder -rollen, in seitlichen Führungsbahnen, die das Tor aus einer vertikalen Geschlossenstellung über einen Bogen in eine horizontale Offenstellung führen;

(3) an dem oberen Rand (5) jedes Torelementes (1) ist ein Vorsprung (7) vorgesehen, der eine bis zur Spitze (9) ansteigende Vorderflanke (10) und eine von der Spitze (9) abfallende Hinterflanke (12) aufweist;

(4) an dem unteren Rand (6) des Torelementes ist eine in der Geschlossenstellung den Vorsprung des benachbarten Torelementes aufnehmende Vertiefung (13) vorgesehen;

(5) beim Verschwenken der Torelemente (1, 1') im Bogenbereich der Führungsbahn (4) tritt zumindest über einen Teil des Verschwenkwinkels bloß ein Öffnungsabstand (d) auf, der das Einklemmen eines Fingers ausschließt;

(6) der Vorsprung (7) ist zahnartig ausgebildet;

(7) die Vertiefung (13) ist an den Vorsprung (7) angepasst;

(8) das Gelenk des Scharniers (14) ist vollständig in der hinteren Ausnehmung (20) aufgenommen, wodurch die Schwenkachse (a) dem Vorsprung (7) bzw. der Vertiefung (13) angenähert ist und vor die Hinterflächen (11) der Torelemente (1, 1') zu liegen kommt.

16
4. Die nachfolgend wiedergegebene Figur 1 der Zeichnungen des Streitpatents zeigt in schematischer Seitenansicht ein Hubgliedertor, das eine Mehrzahl von tafelförmigen Torelementen (1) aufweist, die mittels Gelenken (2) um horizontal verlaufende Schwenkachsen miteinander verbunden sind. Das Tor gleitet dabei mit Hilfe von Führungszapfen oder -rollen (3), in seitlichen Führungsbahnen (4), die das Tor aus einer vertikalen Geschlossenstellung in eine horizontale Offenstellung führen (Merkmale 1 und 2).



17
In den nachfolgend eingerückten Figuren 2 und 3 der Zeichnungen des Streitpatents ist beispielhaft ein zahnartig ausgebildetes Torelement (1) abgebildet, bei dem an dem oberen Rand (5) ein Vorsprung (7) vorgesehen ist, der eine bis zu einer Spitze (9) ansteigende Vorderflanke und eine von der Spitze (9) abfallende Hinterflanke aufweist, und bei dem an dem unteren Rand (6) eine den Vorsprung des benachbarten Torelementes (1) aufnehmende und an diesen angepasste Vertiefung (13) vorgesehen sind (Merkmale 3, 4, 6 und 7).



18
Die patentgemäße Ausgestaltung der oberen bzw. unteren Ränder der Torelemente ermöglicht es, die Schwenkachse (a) so anzuordnen, dass beim Verschwenken der Torelemente im Bogenbereich der Führungsbahn (4) zumindest über einen Teil des Schwenkwinkels bloß ein Öffnungsabstand (d) auftritt, der das Einklemmen eines Fingers ausschließt (Merkmal 5, vgl. auch Streitpatentschrift, Sp. 2, Z. 27 ff.).

19
Wie in den Figuren 2 und 3 außerdem beispielhaft veranschaulicht wird, ist das Gelenk des Scharniers (14) vollständig in der hinteren Ausnehmung (20) aufgenommen, wodurch die Schwenkachse (a) dem Vorsprung (7) bzw. der Vertiefung (13) angenähert ist und vor die Hinterflächen (11) der Torelemente zu liegen kommt (Merkmal 8). Dabei sind aus Sicht des Fachmanns, bei dem es sich um einen Ingenieur des Maschinenbaus mit Fachhochschulabschluss und mehrjährigen Erfahrungen auf dem Gebiet der Konstruktion von Hubgliedertoren handelt, im Zusammenhang mit der Lehre des Streitpatents unter dem Gelenk des Scharniers die Bauteile zu verstehen, die unmittelbar die Wirkachse (= Schwenkachse) bilden. Im Falle der in den Figuren 2 und 3 gezeigten Ausführungsform sind dies beispielsweise der Bolzen und die Rolle, welche unmittelbar die Gelenkigkeit des Scharniers bewirken und vollständig in einer hinteren Ausnehmung aufgenommen sind, so dass sie vor den Hinterflächen der Elemente liegen. Hingegen sind die Scharnierlappen, die hinter den Hinterflächen der Elemente angeordnet sind, zwar als Teil des Scharniers anzusehen, gehören aber nicht mehr zu dessen Gelenk.

20
Mit dem Begriff des Vorsprungs ist, wie der gerichtliche Sachverständige im Termin erläutert hat, dessen Spitze bzw. mit dem Begriff der Vertiefung deren tiefste Stelle gemeint. Das ergibt sich aus Sicht des Fachmanns bereits ohne weiteres aus der zahnartigen bezüglich der Tormittenebene im Wesentlichen symmetrischen Ausgestaltung des Vorsprungs mit einer bis zur Spitze ansteigenden Vorder- und einer von der Spitze abfallenden Hinterflanke bzw. einer den derart ausgestalteten Vorsprung aufnehmenden Vertiefung (vgl. Merkmale 3, 4 und 6) und dem erfindungsgemäßen Bestreben, im Bogenbereich der Führungsbahnen einen geringen Öffnungsabstand zwischen benachbarten Torelementen zu erreichen, damit die Finger der Benutzer darin nicht eingeklemmt werden können (vgl. Merkmal 5). In diesem Verständnis wird der Fachmann bestärkt, wenn es in der Beschreibung weiterhin erläuternd heißt, dass dadurch, dass die Schwenkachse benachbarter Torelemente innerhalb der hinteren Ausnehmung gelegen ist, also der Zahnspitze angenähert wurde, diese Torelemente vergleichsweise stark abgewinkelt werden können, ohne dass sich hinter dem Zahn ein größerer Spalt öffnet, der zu Fingerverletzungen führen könnte (Streitpatentschrift, Sp. 2, Z. 34 ff.).

21
5. In der Fassung des ersten Hilfsantrags der Beklagten hat Merkmal 5 abweichend von der erteilten Fassung folgenden Wortlaut:
(5) Beim Verschwenken der Torelemente (1, 1') im Bogenbereich der Führungsbahn (4) tritt bloß ein Öffnungsabstand (d) auf, der das Einklemmen eines Fingers ausschließt.

22
Der Öffnungsabstand (d) muss also in der Fassung des ersten Hilfsantrags beim Verschwenken der Torelemente nicht nur (wie noch in der eingetragenen Fassung von Patentanspruch 1) "zumindest über einen Teil", sondern im gesamten Bogenbereich der Führungsbahn (4) einen Öffnungsabstand (d) aufweisen, der das Einklemmen eines Fingers ausschließt.

23
6. Der zweite Hilfsantrag der Beklagten übernimmt Patentanspruch 1 in der Fassung des ersten Hilfsantrags, wobei zusätzlich Merkmal 3 in Abänderung der eingetragenen Fassung wie folgt lautet:

(3) An dem oberen Rand (5) jedes Torelementes (1) ist ein Vorsprung (7) vorgesehen, der eine bis zur Spitze (9) ansteigende Vorderflanke (10) und eine von der Spitze (9) bis zur Hinterfläche (11) des Elementes abfallende Hinterflanke (12) aufweist.

24
Nach der Lehre von Patentanspruch 1 in der Fassung des zweiten Hilfsantrags ist dem Fachmann die Ausgestaltung der von der Spitze abfallenden Hinterflanke nicht mehr freigestellt, sondern diese muss bis zur Hinterfläche abfallen, so wie dies bei der in den Figuren 2 und 3 exemplarisch gezeigten Ausführungsform der Fall ist, bei welcher die Hinterflanke von der Spitze aus betrachtet zunächst in einem steileren und dann in einem flacheren Winkel bis zur Hinterfläche abfällt. Ein Abfallen der Hinterflanke von der Spitze bis zur Hinterfläche des Elementes kann hingegen aus Sicht des Fachmanns nicht mehr angenommen werden, wenn beispielsweise die Hinterflanke auf einer in etwa horizontalen Stufe endet, an die sich die vertikale Hinterseite des Torelementes anschließt. Denn eine solche in etwa horizontale Stufe stellt sich, wie auch der gerichtliche Sachverständige im Termin bestätigt hat, im Rahmen der Lehre des Streitpatents weder als abfallende Flanke des nach Merkmal 6 "zahnartigen" Vorsprungs noch als Hinterfläche des Torelements dar.

25
7. Der dritte Hilfsantrag der Beklagten baut auf Patentanspruch 1 in der Fassung des zweiten Hilfsantrags auf, wobei zusätzlich Merkmal 6 in Abweichung der erteilten Fassung folgenden Inhalt hat:

(6) Der Vorsprung (7) ist zahnartig und bezüglich der Tormittenebene im Wesentlichen symmetrisch ausgebildet.

26
Danach ist die Ausgestaltung des zahnartigen Vorsprunges nicht mehr beliebig, sondern dieser muss bezüglich der Tormittenebene im Wesentlichen symmetrisch ausgebildet sein, was eine streng symmetrische Ausbildung einschließt. Das in den oben wiedergegebenen Figuren 2 und 3 des Streitpatents beispielhaft gezeigte Torelement setzt sich aus zwei identischen Blechschalen zusammen (Streitpatentschrift, Sp. 3, Z. 47 ff., Unteranspruch 5) und verfügt infolgedessen über einen streng symmetrisch ausgebildeten zahnartigen Vorsprung. Eine solche Ausgestaltung weist den Vorteil einer vereinfachten Herstellung auf (Streitpatentschrift, aaO). Der Fachmann erkennt, dass es bei einer lediglich "im Wesentlichen" symmetrischen Ausgestaltung des Vorsprungs nicht notwendigerweise auf den mit identisch geformten Blechschalen verbundenen Vorteil einer vereinfachten Herstellung ankommt, sondern bei dieser auch kleinere Abweichungen möglich sind, wie sie etwa notwendig werden können, wenn vorrangig ein verbessertes äußeres Erscheinungsbild des Hubtores auf der Vorderseite erreicht werden soll.

27
II. 1. Der Gegenstand des Anspruchs 1 des Streitpatents in der erteilten Fassung sowie in der Fassung des ersten und des zweiten Hilfsantrags der Beklagten geht über den Inhalt der ursprünglichen Anmeldung hinaus (§§ 81, 22 Abs. 1, 21 Abs. 1 Nr. 4 PatG).

28
a) Zur Feststellung einer unzulässigen Erweiterung ist der Gegenstand des erteilten Patents (bzw. des Patents in der verteidigten Fassung) mit dem Inhalt der ursprünglichen Unterlagen zu vergleichen. Gegenstand des Patents ist die durch die Patentansprüche bestimmte Lehre, wobei Beschreibung und Zeichnungen mit heranzuziehen sind. Der Inhalt der Patentanmeldung ist hingegen der Gesamtheit der Unterlagen zu entnehmen, ohne dass den Patentansprüchen dabei eine gleich hervorgehobene Bedeutung zukommt. Entscheidend ist, ob die ursprüngliche Offenbarung für den Fachmann erkennen ließ, dass der geänderte Lösungsvorschlag von vornherein von dem Schutzbegehren mit umfasst werden sollte (Sen.Urt. v. 21.9.1993 - X ZR 50/91, Mitt. 1996, 204, 206 - Unzulässige Erweiterung).

29
Der Gegenstand der Anmeldung kann daher im Erteilungsverfahren bei der Formulierung des Anspruchs anders gefasst werden. Eine solche Änderung darf aber nicht zu einer Erweiterung des Gegenstandes der Anmeldung führen (BGHZ 110, 123, 125 f. - Spleißkammer). Der Patentanspruch darf nicht auf einen Gegenstand gerichtet werden, den die ursprüngliche Offenbarung aus Sicht des Fachmanns nicht zur Erfindung gehörend erkennen ließ (Sen.Urt. v. 5.7.2005 - X ZR 30/02, GRUR 2005, 1023, 1024 - Einkaufswagen II; v. 23.10.2007 - X ZR 104/06 Tz. 14). Das ist jedoch bei Patentanspruch 1 in den genannten Fassungen der Fall.

30
b) Dem Fachmann wird in den Anmeldungsunterlagen an keiner Stelle offenbart, dass Gegenstand der Erfindung auch ein Hubgliedertor sein soll, bei dem der zahnartige Vorsprung, der an dem oberen (unteren) Rand eines jeden Torelementes vorgesehen ist, nicht "bezüglich der Tormittenebene im Wesentlichen symmetrisch" ausgebildet sein kann, so wie dies in Patentanspruch 1 (Merkmal 6) des Streitpatents in der eingetragenen Fassung und in der Fassung des ersten und des zweiten Hilfsantrags der Beklagten vorgesehen ist.

31
In der allgemeinen Beschreibung der Anmeldung wird dem Fachmann ausgehend von Angaben zum Stand der Technik mitgeteilt, dass es ein Ziel der Erfindung ist, ein Hubgliedertor zu schaffen, bei dem eine gute Abdichtung zwischen den Elementen gegeben ist und Fingerverletzungen im Umlenkbereich der Torelemente vermieden werden können (Streitpatentanmeldung, Sp. 1, Z. 41 ff.). Dieses Ziel soll sich nach den weiteren Erläuterungen der allgemeinen Beschreibung mit einem Hubgliedertor der im Stand der Technik bekannten Art (entspricht einem Hubgliedertor nach Maßgabe der Merkmale 1 und 2 des Patentanspruchs 1 in der erteilten Fassung) erreichen lassen, "bei welchem erfindungsgemäß an dem oberen (unteren) Rand jedes Torelementes ein bezüglich der Tormittenebene im Wesentlichen symmetrischer zahnartiger Vorsprung vorgesehen ist" sowie weitere Merkmale vorhanden sind (Streitpatentanmeldung, Sp. 1, Z. 46 ff.).

32
Der Fachmann wird in der Anmeldung sodann dahin belehrt, dass es die erfindungsgemäße Ausgestaltung der oberen bzw. unteren Ränder der Torelemente ermöglicht, die Schwenkachse so zu legen, dass sich auch im Bogenbereich der Führungsbahnen bloß ein geringer Öffnungsabstand zwischen benachbarten Torelementen, beispielsweise 4 mm, ergibt, wodurch Finger nicht versehentlich in den Öffnungsbereich gelangen können. Neben weiteren sich unzweifelhaft nicht auf die "im Wesentlichen symmetrische" Ausgestaltung des zahnartigen Vorsprungs beziehenden Vorteilsangaben wird dem Fachmann zudem erläutert, dass die symmetrische Ausbildung zu einer Produktionsvereinfachung besonders bei der Herstellung jedes Elementes aus zwei Blechschalen führt, da diese dann völlig gleich ausgebildet werden können (Streitpatentanmeldung, Sp. 1, Z. 60 ff.).

33
Die in der Anmeldung in den Figuren 4 bis 6 wie folgt gezeigten



und in der Beschreibung erläuterten Ausführungsbeispiele weisen einen symmetrischen zahnartigen Vorsprung auf. Ergänzend heißt es zu dem in Figur 4 gezeigten Ausführungsbeispiel in der Beschreibung, dass die Blechschalen (16, 17) völlig identisch ausgebildet sein können, was zu einer Vereinfachung der Herstellung führt (Streitpatentanmeldung, Sp. 3, Z. 24 ff.). Dem steht auch, wie der gerichtliche Sachverständige in seinem Gutachten ausgeführt und bei seiner Anhörung bestätigt hat, nicht entgegen, dass bei der Darstellung in Figur 4 die beiden das Torelement bildenden Blechschalen in den Überlappungsbereichen des zahnartigen Vorsprungs am oberen Rand bzw. der entsprechenden Vertiefung am unteren Rand geringe Symmetrieabweichungen aufweisen. Denn dem Fachmann wird in der Beschreibung gerade im Hinblick auf das in Figur 4 gezeigte Ausführungsbeispiel erläutert, dass die Blechschalen (16, 17) zur Vereinfachung der Herstellung völlig identisch ausgebildet sein können (Streitpatentanmeldung, Sp. 3, Z. 24 ff.). Zudem ist diesem aufgrund seines Fachwissens geläufig, dass die Elementschalen hinreichend flexibel sind, um im montierten Zustand des Elements einen praktisch symmetrischen Formzustand anzunehmen.

34
Bei der in den Figuren 2 und 3 der Anmeldung wie folgt gezeigten Ausgestaltung



ist an der Vorderseite eine Ausnehmung (15) im Bereich der benachbarten Elemente (1, 1') vorgesehen, um - wie in der Beschreibung erläutert wird (Streitpatentanmeldung, Sp. 3, Z. 12 ff.) - das Erscheinungsbild des geschlossenen Tores zu verbessern. Die Ausnehmung wird einerseits durch die abgeschrägte vorderseitige Kante des oberen Elementes und andererseits durch die im unteren Bereich abgeflachte vorderseitige Flanke des zahnartigen Vorsprungs des unteren Elementes gebildet. Da nur die vorderseitige, nicht aber auch die rückseitige Flanke in ihrem unteren Bereich abgeflacht ist, ist der zahnartige Vorsprung nicht völlig symmetrisch ausgebildet. Der Fachmann wird in dieser Ausgestaltung jedoch ein Beispiel für einen im Wesentlichen symmetrischen zahnartigen Vorsprung erkennen.

35
Kein einziges der in den ursprünglichen Unterlagen offenbarten Ausführungsbeispiele zeigt jedoch ein Hubgliedertor, dessen Torelemente nicht zumindest einen im Wesentlichen symmetrisch ausgestalteten zahnartigen Vorsprung aufweisen.

36
In Patentanspruch 1 der Anmeldung ist dann ebenfalls vorgesehen, dass an dem oberen (unteren) Rand jedes Torelements ein bezüglich der Tormittenebene im Wesentlichen symmetrischer zahnartiger Vorsprung ausgebildet sein soll. Die weiteren Patentansprüche 2 bis 7 der Anmeldung nehmen mittelbar oder unmittelbar Bezug auf Patentanspruch 1 und beinhalten damit als auf diesen bezogene Unteransprüche gleichermaßen das Merkmal, dass an dem oberen (unteren) Rand jedes Torelements ein bezüglich der Tormittenebene im Wesentlichen symmetrischer zahnartiger Vorsprung ausgebildet sein soll. In Patentanspruch 6 wird darüber hinaus gefordert, dass jedes Element (1, 1') aus zwei identisch ausgebildeten Blechschalen (16, 17) besteht, was eine bezüglich der Tormittenebene exakt symmetrische Ausgestaltung des zahnartigen Vorsprungs impliziert.

37
c) (1) Die Beklagte und die Nebenintervenientin meinen demgegenüber, der Fachmann werde erkennen, dass die im Wesentlichen bezüglich der Tormittenebene symmetrische Ausbildung des zahnartigen Vorsprungs allein dazu diene, Produktionsvereinfachungen zu ermöglichen, weil die Blechschalen dann völlig gleich ausgebildet werden können, während durch eine solche Ausbildung nichts zur Lösung der weiteren der Erfindung zugrundeliegenden Probleme - insbesondere dem Problem des Fingerklemmschutzes - beigetragen werde. Es sei daher nicht notwendig, dieses Teilmerkmal im Hauptanspruch zu belassen. Vielmehr betreffe selbiges einen selbständigen, unabhängigen Erfindungskomplex, der ohne weiteres vom Hauptanspruch abgetrennt werden könne.

38
Dieser Argumentation kann nicht gefolgt werden. Die Beklagte und die Nebenintervenientin übersehen, dass nach den Angaben der Beschreibung erst die streng symmetrische Ausbildung des zahnartigen Vorsprungs zu einer Produktionsvereinfachung, insbesondere bei der Herstellung jedes Elementes aus zwei Blechschalen führt, weil diese dann "völlig gleich" ausgebildet werden können (Streitpatentanmeldung, Sp. 2, Z. 9 ff.; vgl. auch Patentanspruch 6), so wie dies in der Anmeldung im Hinblick auf das in Figur 4 gezeigte Ausführungsbeispiel erläutert wird (vgl. Streitpatentanmeldung, Sp. 3, Z. 24 ff.). Ist der zahnartige Vorsprung jedoch zur Tormittenebene nicht streng symmetrisch, sondern lediglich "im Wesentlichen" symmetrisch ausgebildet, so wie dies in den Figuren 2 und 3 gezeigt und in der Beschreibung der Anmeldung erläutert wird, bedarf es unterschiedlicher Arbeitsvorgänge um die beiden Schalen für ein Torelement herzustellen. Für den Fachmann ergab sich daraus, dass nach dem Offenbarungsgehalt der Anmeldung mit dem Merkmal des bezüglich der Tormittenebene im Wesentlichen symmetrischen zahnartigen Vorsprungs erfindungsgemäß nicht ausschließlich Produktionsvereinfachungen erreicht werden sollen und es sich infolgedessen dabei auch nicht um einen selbständigen, unabhängigen Erfindungskomplex handelt, der ohne weiteres vom Hauptanspruch abgetrennt werden kann.

39
(2) Die Beklagte und die Nebenintervenientin sind des Weiteren der Ansicht, dass der Fachmann bei einer Analyse der Anmeldung habe erkennen können, dass die Symmetrie kein notwendiges Merkmal sei, wenn Fingerverletzungen vermieden werden sollen. Zudem habe der Fachmann feststellen können, dass der maximale Verschwenkwinkel bis zu dem Öffnungsabstand, der das Einklemmen eines Fingers ausschließt, bei allen in den Ursprungsunterlagen angedeuteten Ausführungsformen der Erfindung besonders groß wird, wenn der Vorsprung gerade nicht symmetrisch ist. Zu einer solchen kritischen Analyse des Inhalts der Ursprungsunterlagen sei der Fachmann dadurch veranlasst worden, dass diese neben einer formelhaften Wiedergabe des ursprünglich vorgelegten Anspruchs keine Erläuterungen zum erfinderischen Beitrag der symmetrischen Ausgestaltung des zahnartigen Vorsprungs enthielten.

40
Auch mit diesem Vorbringen vermögen die Beklagte und die Nebenintervenientin nicht durchzudringen. Zwar hat der gerichtliche Sachverständige in seinem Gutachten bestätigt, dass der maximal zulässige Verschwenkwinkel (das heißt der Winkel, bei dem der Öffnungsabstand (d) zwischen der Vorderflanke der Vertiefung bzw. der vorderen Unterkante der Vertiefung des einen Torelementes und der oberen Kante des zahnartigen Vorsprungs des anderen Torelementes nur so groß ist, dass das Einklemmen eines Fingers ausgeschlossen ist [beispielsweise maximal 4 mm ist, vgl. Streitpatentanmeldung, Sp. 1, Z. 60 ff.]) bei einer nichtsymmetrischen Ausgestaltung des zahnartigen Vorsprungs im Vergleich mit einem symmetrischen Vorsprung verkleinert oder vergrößert werden kann (Gutachten, S. 20 ff., 24, 27). Dies hat der gerichtliche Sachverständige in seinem Gutachten dadurch veranschaulicht, dass er beispielhaft ein Torelement mit einem bezüglich der Tormittenebene symmetrischen zahnartigen Vorsprung, bei dem der Winkel der geraden Flanken auf beiden Seiten 60° beträgt, mit Torelementen verglichen hat, bei denen die vorderseitige Flanke des Vorsprungs um 5° bzw. 10° geneigt wurde, und Torelementen gegenüber gestellt hat, bei denen die hinterseitige Flanke des Vorsprungs um 5° bzw. 10° geneigt wurde. Wie sich aus der nachfolgend wiedergegebenen zeichnerischen Darstellung ergibt, verkürzt sich im Vergleich mit der symmetrischen Ausgestaltung des zahnartigen Vorsprungs der Verschwenkwinkel bei den Beispielen, bei denen die Vorderflanke geneigt wurde, und vergrößert sich bei den Beispielen, bei denen die Hinterflanke geneigt wurde (Gutachten, S. 20):



41
Vor diesem Hintergrund erschloss es sich dem Fachmann, wie sich aus den weiteren Ausführungen des gerichtlichen Sachverständigen ergibt, dass die bezüglich der Tormittenebene symmetrische bzw. im Wesentlichen symmetrische Gestaltung des zahnartigen Vorsprungs kein notwendiges Merkmal ist, um Fingerverletzungen zu vermeiden.

42
Die Beklagte und die Nebenintervenientin übersehen jedoch, dass der Fachmann diese Erkenntnisse nicht dem Offenbarungsgehalt der ursprünglichen Unterlagen entnehmen konnte, sondern sich selbige ihm nach Kenntnisnahme der Anmeldung erst aufgrund eigener von seinem Fachwissen getragener Überlegungen erschlossen haben. Denn in den Anmeldungsunterlagen findet sich weder ein ausdrücklicher Hinweis darauf, dass auch Torelemente mit einem bezüglich der Tormittenebene nicht im Wesentlichen symmetrischen zahnartigen Vorsprung zur Erfindung gehören sollen, noch handelte es sich dabei um eine Selbstverständlichkeit, die aus Sicht des Fachmanns ohne weiteres "mitgelesen" worden ist. Vielmehr hat auch der gerichtliche Sachverständige im Termin bestätigt, dass der Fachmann die Ausführungen in der Anmeldung zunächst als solche hinnahm und erst durch auf die Anmeldung aufbauende eigenständige Erwägungen zu dem Schluss gelangen konnte, dass die erfindungsgemäß angestrebten Ziele auch mit einer nicht im Wesentlichen symmetrischen Ausgestaltung des zahnartigen Vorsprungs erreicht werden können, zumal der Fachmann im Bereich der Produktionstechnik allgemein dazu neigt, symmetrische nichtsymmetrischen Formgestaltungen vorzuziehen.

43
Hinzu kommt, dass es nach den weiteren Ausführungen des gerichtlichen Sachverständigen aus Sicht des Fachmanns jedenfalls bei geraden Flanken durchaus sinnvoll war, den Verschwenkwinkel nicht zu groß werden zu lassen, weil dann ein ungünstiger größerer Abstand zwischen der Vorderflanke des Vorsprungs des einen Torelementes und der korrespondierenden Flanke der Vertiefung des anderen Torelementes entsteht (vgl. jeweils den Abstand (k) bei den oben wiedergegebenen, aus dem Gutachten des gerichtlichen Sachverständigen stammenden beispielhaften Darstellungen der symmetrischen und der zur Hinterseite geneigten zahnartigen Vorsprünge). Daher stellte die symmetrische Gestaltung des zahnartigen Vorsprungs auch aus allgemein fachlicher Sicht einen guten Kompromiss dar, um einerseits den maximalen Kantenabstand nicht zu groß werden zu lassen und dabei gleichzeitig einen ausreichend großen maximalen Verschwenkwinkel zu ermöglichen (Gutachten, S. 24, 27).

44
2. Der Gegenstand des Patentanspruchs 1 in der Fassung des 3. Hilfsantrags der Beklagten und Nebenintervenientin geht nicht in unzulässiger Weise über den Inhalt der ursprünglichen Anmeldung hinaus (§§ 81, 22 Abs. 1, 21 Abs. 1 Nr. 4 PatG).

45
a) Die Klägerin zu 3 meint, der Fachmann habe den ursprünglich eingereichten Unterlagen nicht entnehmen können, dass das Gelenk des Scharniers "vollständig" in der hinteren Ausnehmung aufgenommen sei (Merkmal 8). Für den Fachmann sei nicht erkennbar gewesen, dass dieses Teilmerkmal zur Erzielung der angestrebten Wirkung von Vorteil sei. Eine weitere unzulässige Erweiterung sei darin zu sehen, dass Merkmal 8 während des Erteilungsverfahrens dahin geändert worden sei, dass "die Schwenkachse (a) dem Vorsprung (7) bzw. der Vertiefung (13) angenähert" sei. Die ursprünglichen Unterlagen enthielten keine Offenbarung hinsichtlich des Abstandes der Schwenkachse zu dem Vorsprung. Die beanspruchte Annäherung der Schwenkachse an den Vorsprung ergebe sich auch nicht zwangsläufig aus dem Versatz der Schwenkachse vor die Hinterfläche der Elemente. Vielmehr könne ein solcher Versatz auch zu einer Vergrößerung des Abstandes zur Spitze des Vorsprungs führen.

46
Die Argumente der Klägerin zu 3 greifen nicht durch. In der Beschreibung der ursprünglichen Anmeldung wird dem Fachmann im Hinblick auf die in Figur 5 (die identisch mit der oben wiedergegebenen Figur 2 des Streitpatents ist) gezeigte Ausführung erläutert, dass diese nicht nur an der Vorderseite eine Ausnehmung 15 aufweist, sondern auch an der Hinterseite eine Ausnehmung 20 vorgesehen ist (Streitpatentanmeldung, Sp. 3, Z. 40 ff.). Sodann heißt es, dass "diese hintere Ausnehmung 20 ..., wie ersichtlich, das Gelenk eines Scharniers 14 aufnehmen [kann], wodurch die Schwenkachse a vor die Hinterfläche 11 der Elemente 1, 1' zu liegen kommt" (Streitpatentanmeldung, Sp. 3, Z. 42 ff.). Zutreffend ist, dass an dieser Stelle nicht ausdrücklich offenbart wird, dass das Scharniergelenk vollständig von der hinteren Ausnehmung aufgenommen wird. Dies ergibt sich jedoch für den Fachmann, wie der gerichtliche Sachverständige im Termin erläutert hat, ohne weiteres aus dem Bezug zur Figur 5 der Anmeldung, welche ein vollständig von der hinteren Ausnehmung 20 aufgenommenes Scharniergelenk zeigt. Denn zum Offenbarungsgehalt gehört auch, was der Fachmann aus den Zeichnungen als zu der angemeldeten Erfindung gehörend entnehmen kann (Sen.Urt v. 21.4.2009 - X ZR 153/04, GRUR 2009, 933 - Druckmaschinen-Temperierungssystem II).

47
Dem steht auch nicht entgegen, dass es sich bei der Figur 5 wie auch bei den anderen Zeichnungen der Anmeldungsunterlagen um eine schematische Darstellung handelt (vgl. Streitpatentanmeldung, Sp. 2, Z. 19 ff.). Denn, wie der gerichtliche Sachverständige überzeugend ausgeführt hat (Gutachten, S. 34), erkennt der Fachmann aufgrund seines Wissens und seiner Erfahrungen, dass in Abhängigkeit von den verschiedenen Faktoren der konkreten Ausgestaltung (z.B. die Breite des Torblattes, die Höhe des Vorsprungs, der erforderliche Verschwenkwinkel der Torelemente, die Größe des Gelenks, etc.) die in Figur 5 der Anmeldung gezeigte vollständige Aufnahme der Schwenkachse durch die hintere Ausnehmung eine mögliche Lösung für die Anordnung der Schwenkachse ist.

48
Zutreffend weist die Klägerin zu 3 darauf hin, dass die Anmeldungsunterlagen keine Angaben zum Abstand zwischen der Schwenkachse (a) und dem Vorsprung infolge der vollständigen Anordnung des Scharniergelenks in der hinteren Ausnehmung enthalten. Zudem ist ihr darin zuzustimmen, dass die Verlegung der Schwenkachse (a) vor die rückseitige Kante (11) der Torelemente - bei rein theoretischer Betrachtungsweise - nicht zwangsläufig eine Annäherung der Schwenkachse (a) an den Vorsprung (7) zur Folge hat. Wie jedoch der gerichtliche Sachverständige bestätigt hat (Gutachten, S. 34), erschloss es sich dem Fachmann aufgrund seiner Fachkenntnisse, dass ein Versatz, der die Schwenkachse vom Vorsprung entfernt, die Gefahr des Fingereinklemmens erhöht, weil sich dadurch der maximale Kantenabstand vergrößert und der maximal zulässige Verschwenkwinkel verkleinert, weshalb dieser eine solche Lösung nicht in Betracht zog. Daher war es für ihn - bei Beachtung der mit der Erfindung angestrebten Ziele - sehr wohl zwangsläufig, dass mit der vollständigen Aufnahme des Scharniergelenks in der hinteren Ausnehmung (20) eine Annäherung der Schwenkachse (a) an den Vorsprung (7) einhergeht und zu gehen hat.

49
b) Die Klägerin zu 3 vertritt zudem die Ansicht, dass der Gegenstand des Streitpatents dadurch unzulässig erweitert worden sei, dass in dessen Beschreibung folgender weiterer Absatz aufgenommen worden sei: "Dadurch, dass die Schwenkachse benachbarter Torelemente innerhalb der hinteren Ausnehmung gelegen ist, also der Zahnspitze angenähert wurde, können benachbarte Torelemente vergleichsweise stark abgewinkelt werden, ohne dass sich hinter dem Zahn ein größerer Spalt, der zu Verletzungen führen könnte, öffnet" (Streitpatent, Sp. 2, Z. 34 ff.).

50
Wie bereits ausgeführt, ist zur Feststellung einer unzulässigen Erweiterung der Gegenstand des Patents mit dem Inhalt der ursprünglichen Unterlagen zu vergleichen. Dabei wird der Gegenstand des Patents durch die Patentansprüche bestimmt, wobei Beschreibung und Zeichnungen zur Auslegung der Ansprüche mit heranzuziehen sind (§ 14 PatG). Eine Passage in der Beschreibung oder eine Zeichnung, die nicht Inhalt der ursprünglichen Unterlagen gewesen ist, kann demnach nur dann den Nichtigkeitsgrund der unzulässigen Erweiterung begründen, wenn deren Berücksichtigung bei der Auslegung des Patentanspruchs des erteilten Patents zu einem veränderten Verständnis der darin verwendeten Begriffe oder des geschützten Gegenstands führt (ähnlich zur Schutzbereichserweiterung nach § 22 Abs. 1 Alt. 2 PatG: Benkard/Rogge, PatG, 10. Aufl., § 22 PatG Rdn. 21 a.E.).

51
Das ist bei der von der Klägerin zu 3 beanstandeten Einfügung nicht der Fall. Diese Stelle, die nicht in den ursprünglichen Unterlagen enthalten war, bezieht sich auf das Merkmal 8 des Patentanspruchs 1 des Streitpatents, wonach durch die vollständige Aufnahme des Scharniergelenks (14) in der hinteren Ausnehmung (20) die Schwenkachse (a) dem Vorsprung (7) bzw. der Vertiefung (13) angenähert ist und vor die Hinterflächen (11) der Torelemente (1, 1') zu liegen kommt. Insoweit ist ihr zu entnehmen, dass durch die mit der Verlegung der Schwenkachse in die hintere Ausnehmung einhergehende Annäherung der Schwenkachse an die Zahnspitze (des Vorsprungs) benachbarte Torelemente vergleichsweise stark abgewinkelt werden können, ohne dass sich hinter dem Zahn ein größerer Spalt öffnet, der zu Verletzungen führen könnte (vgl. Streitpatentschrift, Sp. 2, Z. 34 ff.).

52
Die beanstandete Angabe führt nicht deshalb zu einer unzulässigen Erweiterung, weil hierin ausdrücklich auf die Zahnspitze des Vorsprungs als Bezugspunkt für die Annäherung der Schwenkachse Bezug genommen wird, während in Merkmal 8 lediglich die Annäherung der Schwenkachse an den Vorsprung bzw. die Vertiefung erwähnt wird. Denn wie bereits dargelegt, wird Merkmal 8 bereits im Rahmen der Lehre aus Patentanspruch 1 des Streitpatents vom Fachmann dahin verstanden, dass sich die Schwenkachse der Zahnspitze des Vorsprungs annähert, so dass aus der nach § 14 Satz 2 PatG gebotenen Heranziehung des eingefügten Absatzes kein anderes, eine unzulässige Erweiterung begründendes Verständnis des in Patentanspruch 1 unter Schutz gestellten Gegenstandes folgen kann.

53
Wie der gerichtliche Sachverständige zudem bestätigt hat (Gutachten, S. 35 i.V.m. S. 29 ff.), ermöglicht es eine Annäherung der Lage der Schwenkachse an die Zahnspitze tatsächlich, den Verschwenkwinkel bei einem vorgegebenen Öffnungsabstand zu vergrößern. Ein erweiterndes Verständnis des Merkmals 8 bzw. der Lehre aus Patentanspruch 1 in der Fassung des 3. Hilfsantrags ergibt sich auch daraus nicht.

54
c) Die Klägerin zu 3 meint schließlich, dass in der Hinzufügung der Figur 3 in das Streitpatent sowie in der Umformulierung des Beschreibungsteils in Spalte 3, Zeilen 25 - 35 des Streitpatents eine unzulässige Erweiterung zu sehen sei.

55
Auch insoweit kann ihr nicht beigetreten werden. Zutreffend ist, dass die Figur 3 des Streitpatents als solche nicht zu den Figuren der ursprünglichen Unterlagen gehört. Die Anmeldung enthält vielmehr die Figur 5, welche identisch mit der oben wiedergegebenen Figur 2 des Streitpatents ist, sowie darüber hinaus unter anderem die Figuren 2 und 3, welche nachfolgend wiedergegeben werden:



56
Die Figur 3 des Streitpatents entspricht also insoweit der Figur 3 der Anmeldung, als diese ein Torelement, welches in einer vorhergehenden Figur in geschlossenem Zustand gezeigt wird, in verschwenkter Position darstellt. Figur 3 des Streitpatents weicht insoweit von Figur 3 der Anmeldung ab, als nicht eine Figur 2 der Anmeldung entsprechende Figur in verschwenkter Position gezeigt wird, sondern eine Figur 2 des Streitpatents (die wiederum mit Figur 5 der Anmeldung identisch ist) entsprechende Figur in verschwenkter Position. Mit dieser Abweichung sind Detailunterschiede in der Darstellung verbunden, wie etwa eine stärker geneigte Anordnung des oberen Torelementes bzw. ein größerer Verschwenkwinkel bei Figur 3 des Streitpatents (ca. 50°) im Vergleich mit Figur 3 der Anmeldung (ca. 45°). Diese Unterschiede gehen jedoch nicht über das hinaus, was für den Fachmann bereits in der ursprünglichen Anmeldung in den Figuren 2, 3 und 5 sowie in der Beschreibung (Streitpatentanmeldung, Sp. 3, Z. 42 ff.) zu erkennen war, weil sie Folge des einfachen Verschwenkens des oberen Torabschnitts aus Figur 5 der ursprünglichen Anmeldung sind, wie der gerichtliche Sachverständige überzeugend ausgeführt hat (Gutachten, S. 36). Erst recht ergibt sich daraus kein erweiterndes Verständnis der Lehre aus Patentanspruch 1 in der Fassung des 3. Hilfsantrags der Beklagten.

57
Gleiches gilt auch für die von der Klägerin zu 3 beanstandete Umformulierung. Zutreffend ist, dass sich diese Stelle in den ursprünglichen Unterlagen auf Figur 3 der Anmeldung bezogen hat, während diese nunmehr die mit dieser nicht identische Figur 3 des Streitpatents betrifft. Diesbezüglich wird im Wesentlichen erläutert, dass bei einem Verschwenken der Elemente im Bogenbereich der Führungsschienen 4 nur ein geringer Öffnungsabstand (d) entsteht, der verhindert, dass Finger zwischen die Ränder benachbarter Elemente gelangen und verletzt werden können, wobei dieser Effekt durch die ansteigende Flanke 10 unterstützt wird (vgl. einerseits: Streitpatentanmeldung, Sp. 2, Z. 68 ff. und andererseits: Streitpatent, Sp. 3, Z. 25 ff.). Diese Erläuterungen treffen gleichermaßen für die Figur 3 der Anmeldung wie für die (veränderte) Figur 3 des Streitpatents zu. Ein erweitertes Verständnis des Gegenstandes aus Patentanspruch 1 in der Fassung des 3. Hilfsantrages erwächst daraus nicht.

58
III. Der Gegenstand von Patentanspruch 1 in der Fassung des 3. Hilfsantrages der Beklagten erweitert nicht unzulässig den Schutzbereich des Streitpatents (§§ 81, 22 Abs. 1 Alt. 2 PatG).

59
Die Klägerin zu 3 meint, eine unzulässige Schutzbereichserweiterung liege vor, weil das in Patentanspruch 1 in der Fassung des 3. Hilfsantrags in Merkmal 6 aufgenommene Teilmerkmal, dass der zahnartige Vorsprung bezüglich der Tormittenebene im Wesentlichen symmetrisch ausgebildet ist, im erteilten Patent weder in der Beschreibung noch in den Figuren offenbart sei.

60
In dieser Bewertung kann ihr im Ergebnis nicht zugestimmt werden.

61
Der Patentinhaber kann sein Patent im Nichtigkeitsverfahren beschränken. Er darf aber weder dessen Schutzbereich erweitern, noch an die Stelle der ihm erteilten patentgeschützten Erfindung eine andere setzen. Die Einfügung eines weiteren Merkmals aus der Beschreibung in den Patentanspruch ist nicht zulässig, wenn es dort zwar erwähnt, in seiner Bedeutung für die im Anspruch definierte Erfindung jedoch nicht erkennbar ist. Mit anderen Worten muss dieses Merkmal in der Beschreibung als zu der im Patentanspruch unter Schutz gestellten Erfindung gehörig zu erkennen sein. Andernfalls würde sich der Patentanspruch dann nicht mehr auf die ursprünglich beanspruchte Erfindung beziehen, sondern auf ein davon wesensverschiedenes "Aliud", was vor allem mit dem Gesichtspunkt der Rechtssicherheit nicht mehr vereinbar wäre (BGHZ 110, 123, 126 Spleißkammer; vgl. auch Sen.Beschl. v. 30.10.1990 - X ZB 18/88, GRUR 1991, 307, 308 - Bodenwalze; jeweils m.w.N.).

62
In dem hier zu entscheidenden Fall wird der Schutzbereich durch die Ergänzung des Merkmals 6, dass der Vorsprung nicht nur "zahnartig", sondern darüber hinaus auch "bezüglich der Tormittenebene im Wesentlichen symmetrisch" ausgebildet sein soll, nicht erweitert, weil dadurch die Verwirklichung der in Patentanspruch 1 geschützten Lehre an eine zusätzliche Bedingung geknüpft wird.

63
Durch die Einfügung des Teilmerkmals wird aber auch an die Stelle der patentgeschützten Erfindung kein "Aliud" gesetzt. Zutreffend weist die Klägerin zu 3 darauf hin, dass weder der Beschreibung des Streitpatents in der erteilten Fassung noch dessen Zeichnungen unmittelbar eine Ausgestaltung entnommen werden kann, bei welcher der zahnartige Vorsprung der Torelemente bezüglich der Tormittenebene symmetrisch mit unwesentlichen Abweichungen ausgebildet ist. Allerdings wird in der Beschreibung im Hinblick auf das in den Figuren 2 und 3 des Streitpatents gezeigte erfindungsgemäße Ausführungsbeispiel erwähnt und ist Gegenstand von Unteranspruch 5, dass die Blechschalen, aus denen die Torelemente hergestellt sein können, "völlig identisch" ausgebildet sein können, was zu einer Vereinfachung der Herstellung führt (Streitpatent, Sp. 3, Z. 47 ff.; Sp. 5, Z. 10 ff.). Dies impliziert aus Sicht des Fachmanns - im Sinne einer vorteilhaften Ausführung nach dem erteilten Patent - die bezüglich der Tormittenebene exakt symmetrische Ausbildung des zahnartigen Vorsprungs der Torelemente. Entsprechend weist auch das in den Figuren 2 und 3 des Streitpatents in geschlossenem und verschwenktem Zustand beispielhaft gezeigte Torelement einen bezüglich der Tormittenebene exakt symmetrisch ausgebildeten Vorsprung auf. Entnimmt der Fachmann also einerseits Patentanspruch 1, dass die Ausgestaltung des zahnartigen Vorsprungs der Torelemente in das freie Belieben des Anwenders gestellt wird, und wird er andererseits durch einen Unteranspruch, die Beschreibung und die Zeichnungen dahin belehrt, dass die bezüglich der Tormittenebene exakt symmetrische Ausgestaltung des zahnartigen Vorsprungs vorteilhaft sein kann, so erschließt es sich ihm auch als zur Erfindung gehörend und stellt es kein "Aliud" dar, den Vorsprung bezüglich der Tormittenebene "lediglich" im Wesentlichen symmetrisch auszubilden.

64
IV. 1. Der Gegenstand des Patentanspruchs 1 des Streitpatents in der Fassung des 3. Hilfsantrags der Beklagten ist neu (§§ 81, 22 Abs. 1, 21 Abs. 1 Nr. 1, 1 Abs. 1, 3 PatG).

65
a) Die Lehre aus Patentanspruch 1 des Streitpatents in der Fassung des 3. Hilfsantrags wird nicht durch die US-Patentschrift 2 372 792 (Anlage K 7) aus dem Jahr 1945 offenbart, weil der Fachmann dieser die Merkmale 2 und 8 nicht entnehmen kann. Die Entgegenhaltung zeigt in den nachfolgend verkleinert wiedergegebenen Figuren 25 und 26 den Verbindungsbereich von Hubgliedertoren (Sektionaltoren) wie sie als ÜberkopfKonstruktion für Garagen oder andere vergleichbare Gebäude verwendet werden können.



66
Für den Fachmann folgt aus der Erwähnung der ÜberkopfKonstruktion für Garagen oder andere vergleichbare Gebäude auch implizit, dass das Tor mit Hilfe von Führungszapfen oder -rollen, in seitlichen Führungsbahnen, die das Tor aus einer vertikalen Geschlossenstellung über einen Bogen in eine horizontale Offenstellung führen. Die einzelnen aus Holz bestehenden Torelemente (89, 90) sind jeweils mit einem Scharnier (91) auf der Innenseite aneinander befestigt. An den Stirnseiten der Elemente sind Metallprofile angeschlagen, über die zwischen den angrenzenden Paneelen im Anschluss an konvex oder konkav ausgebildete Oberflächenbereiche eine Nut-Feder-Verbindung ausgebildet ist. Entsprechend ist an dem oberen Rand jedes Torelements (90) ein zahnartiger Vorsprung (95) vorgesehen und weist der untere Rand jedes Torelements (89) eine dem Vorsprung des benachbarten Torelements angepasste Vertiefung (93) auf (vgl. Anlage K 7, S. 6, l. Sp., Z. 29 ff.). Der zahnartige Vorsprung ist jedoch in etwa bogenförmig und damit nicht im Wesentlichen symmetrisch ausgebildet (Merkmal 6). Beim Verschwenken der Torelemente (89, 90) im Bogenbereich der Führungsbahn ist der Öffnungsspalt, wie aus Figur 26 und der Beschreibung (Anlage K 7, S. 6, l. Sp., Z. 38 ff.) hervorgeht, so gering, dass ein Einklemmen des Fingers ausgeschlossen ist. Der zahnartige Vorsprung (95) verfügt auch über eine bis zur Zahnspitze ansteigende Vorderflanke (95a) und eine von der Spitze abfallende Hinterflanke. Letztere fällt jedoch nicht bis zur vertikalen Hinterfläche des Torelementes ab, sondern endet auf einer horizontalen Fläche, welche durch den stirnseitigen Abschluss des Torelementes bzw. des an dieses angeschlagenen Metallprofils gebildet wird (Merkmal 3). Das Gelenk des Scharniers (91) ist auf der Hinterfläche der Torelemente angeordnet und wird somit nicht vollständig von einer hinteren Ausnehmung aufgenommen (Merkmal 8). Zudem offenbart die Entgegenhaltung nicht, wie das Hubgliedertorblatt in der Torkonstruktion geführt ist (Merkmal 2).

67
b) Der Gegenstand von Patentanspruch 1 geht auch nicht aus der USPatentschrift 3 891 021 (Anlage K 3) hervor. Dieser Veröffentlichung konnte der Fachmann ein Hubgliedertor mit den Merkmalen 1 und 2 entnehmen, wie sich ohne weiteres aus den nachfolgend gezeigten Figuren 1 bis 4 ergibt:



68
Am oberen Rand weisen die Torelemente (panel sections 24, 26, 28) einen lippenartig geformten Abschnitt (lip portion 36) auf, während sie am unteren Rand über einen schulterartig geformten Abschnitt (shoulder portion 42) verfügen. Wie aus Figur 3 der Entgegenhaltung ersichtlich, haben der lippenartig und der schulterartig geformte Abschnitt (lip portion 36, shoulder portion 42) einen gleich dimensionierten bogenförmigen Querschnitt und greifen in zusammengesetztem Zustand derart ineinander, dass der schulterartig geformte Abschnitt (shoulder portion 42) auf dem lippenartig geformten Abschnitt (lip portion 36) gleiten kann (vgl. Anlage K 3, Sp. 6, Z. 24 ff.). Der lippenartige Abschnitt (lip portion 36) des Torelementes (panel section 26) ist zwar ein Vorsprung, aber nicht "zahnartig" und erst recht nicht "bezüglich der Tormittenebene im Wesentlichen symmetrisch" ausgebildet (Merkmal 6). Der schulterartige Abschnitt (shoulder portion 42) des Torelementes (panel section 24) ist keine dem Vorsprung des benachbarten Torelementes angepasste Vertiefung (Merkmal 7), weil diese, wie der gerichtliche Sachverständige bestätigt hat, offensichtlich nicht zur gegenseitigen Abstützung des jeweils benachbarten Torelements geeignet sind (Gutachten S. 31). Darüber hinaus sind zwar der Bolzen und die Zylinder des Scharniergelenks (hinge pin 74, barrel portions 72, 74) von der Ausnehmung (recess 40) aufgenommen (vgl. auch Anlage K 3, Sp. 3, Z. 35 ff.; Patentanspruch 1 c, Sp. 8, Z. 55 f.; Figur 2), nicht aber die Kanten des Scharniers sowie dessen rückwärtige Flächen, die auf den Rückfronten der Torelemente (panel section 24, 26) angeordnet sind, so dass das Gelenk des Scharniers im Ergebnis nur teilweise in der hinteren Ausnehmung aufgenommen ist. Zudem führt die teilweise Aufnahme des Gelenks in die hintere Aussparung (recess 40) aufgrund der in den Figuren 2 und 5 gezeigten zentrischen Anordnung des bogenförmigen Vorsprungs (lip portion 36) und der Bauteile des Scharniers (hinge pin 74, barrel portions 72, 74) zu keiner Annäherung an den Vorsprung. Eine solche Annäherung wird nach den Ausführungen des gerichtlichen Sachverständigen (Gutachten S. 44) erst durch eine Verringerung des Radius des Vorsprungs bewirkt.

69
2. Der Gegenstand von Patentanspruch 1 in der Fassung des 3. Hilfsantrags wird auch nicht durch den aufgezeigten Stand der Technik nahegelegt (§§ 81, 22 Abs. 1, 21 Abs. 1 Nr. 1, 1 Abs. 1 PatG)

70
Ausgehend von der in den Figuren 25 und 26 der US-Patentschrift 2 372 792 gezeigten und in deren Beschreibung erläuterten Ausgestaltung ergab es sich für den Fachmann nicht, den zahnartigen Vorsprung (95) nach Maßgabe der Lehre aus Patentanspruch 1 des Streitpatents in der Fassung des 3. Hilfsantrags umzugestalten. Der Fachmann sah sich bereits deshalb nicht dazu veranlasst, die Hinterflanke des zahnartigen Vorsprungs (95) von der Zahnspitze bis zur Hinterfläche des Elementes abfallen zu lassen (Merkmal 3) bzw. den zahnartigen Vorsprung (95) bezüglich der Tormittenebene im Wesentlichen symmetrisch auszubilden (Merkmal 6), weil die in der Entgegenhaltung offenbarte Lösung es bereits aufgrund der in etwa bogenförmigen Ausgestaltung des zahnartigen Vorsprungs (95) und der diesem entsprechenden Ausnehmung (93) vorteilhaft ermöglicht, dass beim Verschwenken der Torelemente (89, 90) im Bogenbereich der Führungsbahn bloß ein Öffnungsabstand (d) auftritt, der das Einklemmen eines Fingers ausschließt (vgl. Anlage K 7, S. 6, l. Sp., Z. 45 ff.). Der gerichtliche Sachverständige hat dies durch seine Angabe in der mündlichen Verhandlung bestätigt, dass im Hinblick auf den Fingerschutz wie auf die zuverlässige Abdichtung aus fachlicher Sicht keinerlei Defizite der aus dem US-Patent bekannten Stirnseitengestaltung zu erkennen waren.

71
Dem steht auch nicht entgegen, dass dem Fachmann in dem 1983 bekannt gemachten deutschen Gebrauchsmuster 83 01 609 (Anlage K 11) im Hinblick auf benachbarte Rollladenelemente mitgeteilt wird, dass die Ausgestaltung der oberen Stirnseite der Elemente mit von der Spitze beidseits bis zur Vorder- bzw. Hinterfläche abfallenden Flächen verhindert, dass Wasser, das zwischen die Flächen gelangt ist, durch die Neigung der Flächen wieder ablaufen kann. Denn zum Einen verhindert bereits der an der Vorderseite angeordnete zahnartige Vorsprung (95) des in den Figuren 25 und 26 der US-Patentschrift gezeigten Elementes, dass beim gegenseitigen Verschwenken der Elemente überhaupt Wasser den Bereich hinter dem zahnartigen Vorsprung erreichen kann. Aber selbst wenn es der Fachmann gleichwohl noch, den Gedanken aus dem deutschen Gebrauchsmuster aufgreifend, für erforderlich gehalten haben sollte, die hintere Flanke des zahnartigen Vorsprungs (95) in Abänderung der Offenbarung aus der US-Patentschrift bis zur Hinterfläche des Elementes abfallend auszugestalten, hätte er immer noch keine Veranlassung gehabt, den zahnartigen Vorsprung bezüglich der Tormittenebene im Wesentlichen symmetrisch auszugestalten.

72
Vor diesem Hintergrund bedarf es keiner abschließenden Feststellungen dazu, ob es für den Fachmann nahegelegen hat, wenigstens das Gelenk des Scharniers (91) des in den Figuren 25 und 26 der US-Patentschrift gezeigten Elementes so anzuordnen, dass es vollständig in einer hinteren Ausnehmung aufgenommen ist (Merkmal 8).

73
V. Der Klägerin zu 3 kann auch nicht in dem - erstmals in der mündlichen Verhandlung vorgebrachten - Argument zugestimmt werden, dass der Beklagten ein Rechtsschutzinteresse an der Aufrechterhaltung des Streitpatents in der Fassung des 3. Hilfsantrags unter dem Gesichtspunkt der Doppelpatentierung fehle, wenn das Patent 39 04 918, dem die Stammanmeldung zugrunde liegt, aus der das vorliegende Streitpatent durch Teilung hervorgegangen ist, in dem zu dem hiesigen Verfahren parallelen Berufungsnichtigkeitsverfahren X ZR 27/06 in der Fassung des Urteils des Bundespatentgerichts vom 28. September 2005 vom Senat aufrechterhalten wird.

74
Zwar hat der Senat am Tag der Verkündung des hiesigen Urteils in dem parallelen Berufungsnichtigkeitsverfahren X ZR 27/06 die Berufung gegen das Urteil des Bundespatentgerichts vom 28. September 2005 zurückgewiesen und damit das Patent in dieser Fassung aufrechterhalten. Die Klägerin zu 3 übersieht in ihrer Argumentation jedoch, dass von einer Doppelpatentierung schon deshalb nicht die Rede sein kann, weil sich einerseits Patentanspruch 1 des Patents 39 04 918 in der Fassung des Urteils des Bundespatentgerichts vom 28. September 2005 und Patentanspruch 1 des hiesigen Streitpatents in der Fassung des 3. Hilfsantrags der Beklagten darin unterscheiden, dass in erstgenanntem gefordert wird, dass der am oberen Rand jedes Torelementes befindliche zahnartige Vorsprung eine von der Vorderfläche des Torelementes ausgehende, bis zur Zahnspitze ansteigende (abfallende) Vorderflanke aufweist, während in letztgenanntem lediglich vorgesehen ist, dass die Vorderflanke bis zur Spitze ansteigt. Nach der Lehre aus Patentanspruch 1 des hiesigen Streitpatents ist es also dem Fachmann freigestellt, die Vorderflanke des zahnartigen Vorsprungs nicht von der Vorderfläche des Torelementes ausgehen zu lassen, sondern etwa von einer horizontalen Randfläche am oberen Rand des Torelementes.

75
Andererseits lehrt allein Patentanspruch 1 des hiesigen Streitpatents, das Gelenk des Scharniers vollständig in der hinteren Ausnehmung aufzunehmen, wodurch die Schwenkachse dem Vorsprung bzw. der Vertiefung angenähert ist und vor der Hinterfläche der Torelemente zu liegen kommt. Der Lehre aus Patentanspruch 1 des Patentes 39 04 918 in der Fassung des Urteils des Bundespatentgerichts vom 28. September 2005 steht es also nicht entgegen, das Gelenk des Scharniers nicht vollständig in die hintere Ausnehmung aufzunehmen, so wie dies beispielsweise in den oben wiedergegebenen Figuren 2, 3 und 6 der Streitpatentanmeldung gezeigt ist, welche identisch mit den Figuren 2, 3 und 6 des Patents 39 04 918 sind.

76
Es ist mithin weder eine Identität des Gegenstandes von Patentanspruch 1 des Patentes 39 04 918 mit dem des Streitpatentes festzustellen, noch ist dies umgekehrt der Fall. Der Tatbestand der Doppelpatentierung ist nicht gegeben. Vor diesem Hintergrund kann es mangels Entscheidungsrelevanz dahingestellt bleiben, ob der Kläger im Nichtigkeitsverfahren bei eingeschränkter Verteidigung des Streitpatents durch den Beklagten überhaupt zulässigerweise geltend machen kann, dass dem Beklagten das Rechtsschutzinteresse an der eingeschränkten Aufrechterhaltung des Patents unter dem Gesichtspunkt der Doppelpatentierung fehlt (vgl. zum fehlenden Rechtsschutzinteresse an einer mehrfachen identischen Patentierung im Erteilungsverfahren: Sen.Beschl. v. 14.3.2006 - X ZB 5/04, GRUR 2006, 748, 750 - Mikroprozessor; Benkard/Melullis, PatG, 10. Aufl., § 1 PatG, Rdn. 74i).

77
VI. Die Kostenentscheidung beruht auf § 121 Abs. 2 PatG i.V.m. §§ 97, 91, 92, 101 ZPO.

Scharen Richter am Bundesgerichtshof Asendorf ist in Ruhestand getreten und kann deshalb nicht unterschreiben. Scharen Gröning Berger Grabinski
-----------------------------------------------------
Die von uns erfassten Urteile wurden oft anders formatiert als das Original. Dies bedeutet, daß Absätze eingefügt und Hervorhebungen durch fett-/kursiv-/&farbig-machen sowie Unterstreichungen vorgenommen wurden. Dies soll verdeutlichen, aber keinesfalls natürlich den Sinn verändern.Wenn Sie vorsichtshalber zusätzlich die Originalversion sehen möchten, hier ist der Link zur Quelle (kein Link? Dann ist dieser Link nicht in unserer DB gespeichert, z.B. weil das Urteil vor Frühjahr 2009 gespeichert worden ist).