Mi, 17. Dezember 2025, 10:19    |  Login:  User Passwort    Anmelden    Passwort vergessen
Arbeitsplattform NEWS URTEILE GESETZE/VO KOMMENTARE VIDEOS SITEINFO/IMPRESSUM NEWSLETTER
Achtung! Die Seite wird derzeit nicht aktualisiert. Die Inhalte sind im wesentlichen auf dem Stand 31.12.2011
Text des Urteils
X ZR 73/08;
Verkündet am: 
 31.08.2010
BGH Bundesgerichtshof
 

Vorinstanzen:
10 Ni 19/07 (EU)
Bundespatentgericht
;
Rechtskräftig: unbekannt!
Kritik in Beschreibung des Streitpatents am Lösungsweg kann auf einen für Fachmann gegebenen Anlass hindeuten, eine Weiterentwicklung des Stands der Technik außerhalb der von diesem Vorschlag vorgezeichneten Bahnen zu suchen
Leitsatz des Gerichts:

Gleitlagerüberwachung

PatG § 4; EPÜ Art. 56

Kritik in der Beschreibung des Streitpatents an dem in einer Vorveröffentlichung offenbarten Lösungsweg kann auf einen für den Fachmann gegebenen Anlass hindeuten, eine Weiterentwicklung des Stands der Technik außerhalb der von diesem Vorschlag vorgezeichneten Bahnen zu suchen, sofern sich diese Kritik nicht als rückschauend nach Auffindung der streitpatentgemäßen Lösung gewonnene Analyse darstellt.

Steht der Fachmann vor dem Problem, eine angewandte technische Methode durch weitere Schritte zu verfeinern, wird er sich von der genauen Analyse einer grundsätzlich einschlägigen Vorveröffentlichung nicht deshalb von vornherein abhalten lassen, weil diese im Ausgangspunkt eine andere als die von ihm favorisierte Methode vorsieht (hier: Detektion von Lagerschäden in Verbrennungsmotoren durch Messung von Öldruckschwankungen anstelle von Thermostromfluss). Aufgrund seines allgemeinen Erfahrungswissens rechnet er stets mit der Möglichkeit, dass dort gegebenenfalls vorgeschlagene weitere Schritte sich als verallgemeinerungsfähig und in dem ihm selbst vorschwebenden Lösungsweg verwendbar erweisen könnten.
Der X. Zivilsenat des Bundesgerichtshofs hat auf die mündliche Verhandlung vom 31. August 2010 durch den Vorsitzenden Richter Scharen und die Richter Gröning, Dr. Berger, Dr. Grabinski und Hoffmann für Recht erkannt:

Die Berufung gegen das am 3. April 2008 verkündete Urteil des 10. Senats (Juristischen Beschwerdesenats und Nichtigkeitssenats) des Bundespatentgerichts wird auf Kosten der Beklagten zurückgewiesen.
Von Rechts wegen


Tatbestand:
1
Die Beklagte ist im Register des Deutschen Patent- und Markenamts eingetragene Inhaberin des deutschen Teils des am 24. März 2000 unter Inanspruchnahme der Priorität einer Schweizer Patentanmeldung vom 22. April 1999 angemeldeten europäischen Patents 1 171 695, das 14 Patentansprüche umfasst. Patentanspruch 1 und 7 lauten in der Verfahrenssprache:

„1. Verfahren zur Überwachung von Gleitlagern einer Hubkolbemaschine, insbesondere eines Verbrennungsmotors, bei der mindestens in einem Zylinder (Z1, Z2, Z3) ein verschieblicher Kolben (13) über eine Pleuelstange (9) mit einer Kurbelwelle (1) verbunden ist, wobei ein Thermostrom (I), der jeweils beim Abreißen eines Schmierfilmes (5) zwischen sich relativ zueinander bewegenden Lagerteilen aus unterschiedlichen, elektrisch leitenden Werkstoffen und auf Grund eines Temperaturgradienten an einem solchen Gleitlager (2a, 10, 11) entsteht, in einem Steuergerät (14) als Steuersignal benutzt wird, dadurch gekennzeichnet, dass der Thermostrom (I) vergrößert und gespreizt wird und in Abhängigkeit vom Drehwinkel der Kurbelwelle (1) über mindestens ein Arbeitsspiel auf signifikante Symptome der Gleitlager (2a, 10, 11) abgefragt wird, wobei beim Auftreten eines signifikanten Symptoms ein Steuersignal für einen Schaden eines bestimmten Gleitlagers ausgegeben wird.

7. Einrichtung zur Durchführung des Verfahrens nach einem der Ansprüche 1 bis 6 mit einem mittels Leitungen (16, 17) einerseits mit dem Gehäuse (7) und andererseits mit der Kurbelwelle (1) der Hubkolbenmaschine verbindbaren Steuergerät (14), welches bei Auftreten eines Thermostroms (I) ein Steuersignal abgibt, dadurch gekennzeichnet, dass das Steuergerät (14) Mittel enthält, die den Thermostrom vergrößern und spreizen und in Abhängigkeit vom Drehwinkel der Kurbelwelle (1) über mindestens ein Arbeitsspiel auf signifikante Symptome der Gleitlager (2a, 10, 11) abfragen, wobei die Mittel beim Auftreten eines signifikanten Symptoms ein Steuersignal für einen Schaden eines bestimmten Gleitlagers ausgeben.”


2
Die Schuldnerin hat geltend gemacht, der Gegenstand des Streitpatents sei nicht patentfähig, weil er nicht neu sei, zumindest aber nicht auf einer erfinderischen Tätigkeit beruhe. Sie hat sich dafür auf die im Tatbestand des angefochtenen Urteils bezeichneten Schriften berufen und außerdem eine offenkundige Vorbenutzung behauptet. Sie hat beantragt, das Streitpatent mit Wirkung für das Hoheitsgebiet der Bundesrepublik Deutschland für nichtig zu erklären. Die Beklagte ist der Klage entgegengetreten. Das Bundespatentgericht hat das Streitpatent durch das angefochtene Urteil im Umfang der Patentansprüche 1 bis 12 für nichtig erklärt und die Klage im Übrigen abgewiesen.

3
Dagegen richtet sich die Berufung der Beklagten.

Der Kläger hat, nachdem zwischenzeitlich über das Vermögen der Schuldnerin das Insolvenzverfahren eröffnet worden ist, den Rechtsstreit aufgenommen; er beantragt, die Berufung zurückzuweisen.

4
Im Auftrag des Senats hat Prof. Dr. Ing. S. , Technische Universität C. , ein schriftliches Sachverständigengutachten erstellt, das er in der mündlichen Verhandlung erläutert und ergänzt hat.


Entscheidungsgründe:
5
Die zulässige Berufung bleibt in der Sache ohne Erfolg.
6
I. Das Streitpatent betrifft ein Verfahren zur Überwachung von Gleitlagern von Hubkolbemaschinen, insbesondere Verbrennungsmotoren zur Vermeidung hitzebedingter Lagerschäden sowie eine Einrichtung zur Durchführung dieses Verfahrens.

Hitzebedingte Lagerschäden können sich einstellen, wenn die Maschine weiterbetrieben wird, obwohl der Schmierölfilm, der die sich relativ zueinander bewegenden Teile des Lagers isolieren soll, abgerissen ist.

7
1. Die Beschreibung des Streitpatents verweist zum Stand der Technik auf die europäische Patentschrift 141 348, aus der ein entsprechendes Verfahren und eine entsprechende Einrichtung bekannt seien.

Daran wird bemängelt, dass es bei gleichzeitiger Überwachung mehrerer in einer gemeinsamen Baueinheit oder getrennt angeordneter Schmierstellen bzw. Gleitlager nicht möglich sei festzustellen, von welchem Gleitlager der Thermostrom ausgehe. Zur genauen Identifikation sei es notwendig, die einzelnen Schmierstellen mit einer zusätzlichen Thermoüberwachung zu versehen und die an den einzelnen Gleitlagern auftretenden Temperaturen zu messen und zu vergleichen, um feststellen zu können, welche Lagertemperatur einen ein Steuersignal auslösenden Wert erreicht habe. Eine solche Maßnahme sei relativ aufwendig und insbesondere auch nicht geeignet für Gleitlager, an denen keine geeignete zusätzliche Thermoüberwachung angeordnet werden könne, wie beispielsweise bei Pleuellagern und Bolzen von Kolben.

8
2. Dem Streitpatent liegt das Problem zugrunde, Verfahren und Einrichtungen zur Überwachung von Gleitlagern einer Hubkolben-Maschine, insbesondere eines Verbrennungsmotors weiter zu verbessern.

Dazu schlägt Patentanspruch 1 ein Verfahren zur Überwachung von Gleitlagern solcher Maschinen, bei denen in mindestens einem Zylinder (Z1, Z2, Z3) ein verschieblicher Kolben (13) über eine Pleuelstange (9) mit einer Kurbelwelle (1) verbunden ist, vor,

1. wobei ein Thermostrom (I),

1.1 der jeweils beim Abreißen eines Schmierfilms (5) zwischen sich relativ zueinander bewegenden Lagerteilen aus unterschiedlichen, elektrisch leitenden Werkstoffen

1.2 und aufgrund eines Temperaturgradienten an einem solchen Gleitlager (2a, 10, 11) entsteht,

in einem Steuergerät (14) als Steuersignal benutzt wird,

2. und der Thermostrom

2.1 vergrößert und gespreizt und

2.2 in Abhängigkeit vom Drehwinkel der Kurbelwelle (1)

2.3 über mindestens ein Arbeitsspiel

2.4 auf signifikante Symptome der Gleitlager (2a, 10, 11) abgefragt und wobei

3. beim Auftreten eines signifikanten Symptoms ein Steuersignal für einen Schaden eines bestimmten Gleitlagers ausgegeben wird.

9
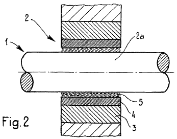
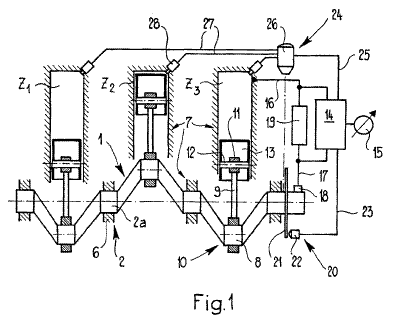
3. Figuren 1 und 2 des Streitpatentszeigen


zeigen schematisch einen dreizylindrigen Viertakt-Hubkolben-Verbrennungsmotor, bei dem das Arbeitsspiel der vier Takte (Ansaug-, Verdichtungs-, Arbeits- und Ausstoßtakt) sich über zwei Umdrehungen der Kurbelwelle (720° Drehwinkel) erstreckt.


Der Kurbeltrieb ist auf als Gleitlager ausgestalteten Grundlagern (2) gelagert, bei denen Lagerzapfen (2a) in Lagerschalen (3), die an ihren den Lagerzapfen zugewandten Seiten beispielsweise mit einer Weißmetallschicht (4) ausgekleidet sind, ruhen und wobei ein dazwischen vorhandener Schmierfilm (5) ein Heißlaufen der Gleitlager verhindert. Die Lagerschalen werden von Lagerböcken (6) getragen, die Bestandteil des Gehäuses (7) sind. Die Kurbelwelle sieht für jeden Zylinder einen Kurbelzapfen (8) vor, an dem eine Pleuelstange (9) über ein Pleuellager (10) angeschlossen ist und mit der über ein weiteres Gleitlager (11) der Bolzen (12) eines Kolbens (13) verbunden ist. Um einen in der Folge eines Schmierfilmabrisses entstehenden Thermostrom erfassen zu können, ist der Verbrennungsmotor mit einem Steuergerät (14) ausgestattet, das über eine Verbindungsleitung (16) mit dem Gehäuse (7) und über eine Verbindungsleitung (17) und einen Kollektor (18) mit der Kurbelwelle elektrisch leitend verbunden ist. Parallel zum Steuergerät sind die Verbindungsleitungen (16, 17) über einen niederohmigen Widerstand (19) kurzgeschlossen. Durch die in einem Gleitlager galvanisch erzeugte Thermospannung fließt in dem niederohmigen Stromkreis (16, 17, 18, 19) ein Thermostrom (I), der an dem Widerstand (19) einen Spannungsabfall (U) auslöst. Dieses Signal wird in dem Steuergerät (14) verarbeitet und einer Anzeigevorrichtung (15) zugeführt.

10
Das Steuergerät (14) ist mit Mitteln (20) ausgerüstet, um den Drehwinkel der Kurbelwelle zu erfassen. Dazu weisen diese Mittel beispielsweise eine mit der Kurbelwelle verbundene Impulsscheibe (20) auf, deren winkelabhängige Signale zum Beispiel am Umfang der verteilten Strichcodes von einem Sensor (22) erfasst und über eine Leitung (23) dem Steuergerät zugeführt werden. Weiter ist dieses Steuergerät mit Mitteln (24) ausgerüstet, die die Zündfolge an den einzelnen Zylindern ermitteln.

11
4. a) Die Anweisung, dass der Thermostrom vergrößert und gespreizt werden soll, versteht der Fachmann, wie die Erörterung mit dem Sachverständigen ergeben hat, jedenfalls in Anbetracht der Figur 3 des Streitpatents als eine messtechnische Maßnahme, die nicht etwa darauf zielt, den Strom zu verstärken, sondern die Interpretierbarkeit des vom Strom erzeugten Signals für messtechnische Zwecke durch bildliche Aufschlüsselung zu erhöhen.

Entsprechende Verstärkungsmaßnahmen sind auch im Stand der Technik, beispielsweise nach den Lehren der europäischen Patentschriften 141 348 und 203 910, vorgesehen und, wie der Sachverständige dargelegt hat und was die Parteien nicht infrage gestellt haben, dem Fachmann (zu ihm nachstehend II 1) im Übrigen geläufige Maßnahmen.

12
b) Soweit der Thermostrom auf signifikante Symptome der Gleitlager abgefragt werden soll (Merkmalsgruppe 2), versteht der Fachmann dies infolge seines allgemeinen Fachwissens dahin, dass vor Einsatz des patentgemäßen Verfahrens zu ermitteln ist, welches Signalbild bei jedem individuellen, streitpatentgemäß auszurüstenden Motor bzw. bei seiner Baureihe als symptomatisch für ein Heißlaufen infolge Schmiermittelfilm-Abrisses anzusehen ist und auf eine Gefährdung hindeutet.

Die Ermittlung eines solchen Schwellenprofils für die Signifikanz von Symptomen entspricht von der Zielrichtung her der in der europäischen Patentschrift 141 348 erörterten und von der Beklagten angeführten Vermeidung von Alarmsignalen bei kurzzeitigen Spannungsspitzen. Wie der Sachverständige erläutert hat, geschieht dies üblicherweise durch Testläufe auf Prüfständen o. Ä.

13
Dass das dabei erlange Signal in Abhängigkeit vom Drehwinkel der Kurbelwelle (Merkmal 2.2) ermittelt wird, stellt aus fachmännischer Sicht die Anweisung dar, das vom Thermostrom gelieferte Signal mit dem Drehwinkel im Ablauf der Arbeitsspiele des Motors zu korrelieren.

14
II. Das Bundespatentgericht hat zu Recht angenommen, dass der Gegenstand des Streitpatents in dem von ihm ausgeurteilten Umfang nicht patentfähig ist (Art. II § 6 Nr. 1 IntPatÜbKG, Art. 138 Abs. 1 lit. a EPÜ).

Dabei kann dahingestellt bleiben, ob der Neuheit die geltend gemachte Vorbenutzung entgegensteht, denn jedenfalls ist der Gegenstand des Streitpatents im Umfang der Patentansprüche 1 bis 12 nicht patentfähig, weil er sich für den Fachmann in naheliegender Weise aus dem Stand der Technik ergab (Art. 56 EPÜ).

15
1. Das Bundespatentgericht hat angenommen, dass die Merkmalsgruppe 1 des Patentanspruchs 1 aus der europäischen Patentschrift 141 348 bekannt sei und dass die weiteren Merkmale dieses Anspruchs eine erfinderische Tätigkeit nicht erforderten.

Den Thermostrom elektronisch zu vergrößern und zu spreizen sei eine in der Mess- und Steuerungstechnik übliche Maßnahme, die vorzusehen den Fachmann jedenfalls vor keine außerhalb seines fachnotorischen Handels liegende Anforderung gestellt habe. Zur Überwindung der von der Lehre der europäischen Patentschrift 141 348 nicht zu beseitigenden Defizite bei der genauen Lokalisierung von Lagerschäden werde der Fachmann aufgrund seiner Kenntnis von der kurbelwinkelabhängigen Lage der Schadensbilder bei Gleitlagern von Hubkolbenmaschinen dazu angeregt, das Thermostromsignal mit dem Kurbelwellenwinkel zu korrelieren, um Hinweise auf den Ort des konkret beschädigten Gleitlagers zu erhalten. Seien bei Mehrzylinder-Hubkolbenmaschinen mehrere Zylinder in Bezug auf die Kurbelwelle geometrisch gleichartig angeordnet, werde der Fachmann zwangsläufig weitere Betriebsparameter der Maschine, wie die Zündfolge und die Totpunktlagen von Kolben heranziehen müssen, um den Schadensort zweifelsfrei einem bestimmten Gleitlager zuordnen zu können. Diese Zusammenhänge zu erkennen erfordere lediglich fachmännisches Grundlagenwissen, wobei die Ausgabe eines Steuersignals abhängig vom Auftreten eines signifikanten Symptoms der Thermostromkurve in Kenntnis der Lehre der europäischen Patentschrift 141 348 nur noch ein einfacher Verfahrensschritt sei. Im Übrigen sei die Korrelation eines die Lagerzustände abbildenden elektrischen Signals mit dem Kurbelwellenwinkel als Maßnahme zur Lokalisierung eines Lagerschadens auch aus der europäischen Patentschrift 203 910 vorbekannt.

16
Die Merkmale der Ansprüche 2 bis 6 begründeten keine erfinderische Tätigkeit. Dass die Position der geringsten Schmierfilmdicke bei einem Gleitlager im Normalbetrieb (Anspruch 2) wegen der dort mit größter Wahrscheinlichkeit zu erwartenden Schadensentstehung als Parameter höchst relevant sei, liege auf der Hand. Die Erfassung der Verlagerungsbahn eines Lagerzapfens (Anspruch 3) stelle eine im Griffbereich des Fachmanns liegende Möglichkeit dar, sich Aufschluss über die Umfangslage des geringsten Spalts in einem Gleitlager zu verschaffen. Von besonderer Relevanz für die Schadensentstehung in Lagern seien naturgemäß die höchsten auftretenden Kräfte auf die Kolben-/Pleuelgruppe. Sie seien drehmoment- und drehzahlabhängig und am größten, wenn der Kolben sich im Bereich des oberen Totpunktes in der Verdichtungsphase befinde. Somit werde der Fachmann auch diese Größen als Parameter für die Auswertung der Thermostromkurve in Betracht ziehen (Ansprüche 4 und 5). Die zusätzliche Berücksichtigung der Zündfolge zur Identifizierung eines Zylinders bzw. seiner Lager gemäß Anspruch 6 liege für einen Fachmann ebenfalls auf der Hand und sei im Übrigen auch aus der europäischen Patentschrift 203 910 bekannt.

17
Die Einrichtung zur Durchführung des Verfahrens nach den Ansprüchen 1 bis 6 gemäß Patentanspruch 7 sei im Umfang der Merkmale des Oberbegriffs ebenfalls aus der europäischen Patentschrift 141 348 bekannt. Dem kennzeichnenden Teil sei als erfindungswesentlich zu entnehmen, dass das Steuergerät nicht näher bestimmte Mittel enthalte, um die im Kennzeichen des Anspruchs 1 beanspruchten Verfahrensschritte auszuführen. Dass am Prioritätstag geeignete Mittel zur Durchführung der Verfahrensschritte zur Verfügung gestanden hätten, habe die Beklagte zu Recht nicht in Frage gestellt. Sei das Verfahren nach Anspruch 1 dem Fachmann durch den Stand der Technik nahegelegt, könne auch die Einrichtung zur Durchführung dieses Verfahrens gemäß Anspruch 7 eine erfinderische Tätigkeit nicht begründen. Eine solche ergebe sich auch nicht aus den zusätzlichen Merkmalen der Patentansprüche 8 bis 12. Mittel zur Erfassung der Totpunkt-Stellungen des Kolbens (Anspruch 8) seien zum Prioritätstag in nahezu allen Brennkraftmaschinen-Steuerungen üblich gewesen. Ein mit der Kurbelwelle verbindbares Übermittlungsgerät für den Thermostrom (Anspruch 9) sei in der europäischen Patentschrift 141 348 als Schleifkontakt beschrieben. Die Anwendung mehrerer am Umfang verteilter, federnd an der Kurbelwelle anliegender Schleifkontakte (Anspruch 11) biete sich dem Fachmann bedarfsweise zur Verringerung von Kontaktfehlern an. Die bauliche Gestaltung und Anordnung dieser Kontakte gemäß Anspruch 11 überschreite nicht den Bereich fachüblichen konstruktiven Gestaltens. Den Drehwinkelgeber zur Erfassung der Winkellage und der Drehzahl der Kurbelwelle (Anspruch 10) sowie den Beschleunigungsgeber an der Kurbelwelle (Anspruch 12) mit dem Übermittlungsgerät für den Thermostrom baulich zu kombinieren, liege wegen der allen Komponenten gemeinsamen funktionalen Kopplung an die Kurbelwelle nahe, wenn, was der Fachmann allgemein anstrebe, eine kompakte Anordnung erhalten bzw. Bauraum eingespart werden solle. Mit den Beschleunigungsgebern nach Anspruch 12 ließen sich, wie auch in der Streitpatentschrift ausgeführt sei, die Auswertungsmöglichkeiten der Thermostromkurve erweitern. In welcher Weise, sei jedoch nicht ausgeführt. Der Fachmann werde bei seiner Analyse der Wirkzusammenhänge Einflussparameter hinzuziehen, die später eine hinreichend präzise Auswertung der Thermostromkurve erlaubten. Hierbei gegebenenfalls die Beschleunigungen der Kurbelwelle mit heranzuziehen, liege in seinem fachlichen Ermessen, erfordere mithin kein erfinderisches Zutun.

18
2. Gegen diese Beurteilung wendet sich die Beklagte im Ergebnis ohne Erfolg.

19
a) Patentanspruch 1 kann nicht als auf einer erfinderischen Tätigkeit beruhend gelten, weil sein Gegenstand in der Gesamtschau aller Merkmale durch die Merkmalsgruppe 2 und das Merkmal 3 nicht in einer die Erteilung von Patentschutz rechtfertigenden Weise zur Weiterbildung des Stands der Technik beigetragen hat.

20
aa) Dass die Anweisung, den Thermostrom zu spreizen und zu vergrößern, eine Maßnahme ist, die eine erfinderische Tätigkeit erforderte, ist mit Blick auf die messtechnische Geläufigkeit solcher Maßnahmen, die der Sachverständige in der mündlichen Verhandlung unterstrichen hat, nicht anzunehmen und wird von der Beklagten auch nicht geltend gemacht.

21
bb) Die weiteren Anweisungen der Merkmalsgruppe 2, den Thermostrom in Abhängigkeit vom Drehwinkel der Kurbelwelle über mindestens ein Arbeitsspiel auf signifikante Symptome der Gleitlager abzufragen, stellen ebenfalls nicht das Ergebnis einer erfinderischen Tätigkeit (Art. 56 EPÜ) dar. Die Herstellung einer Korrelation zwischen Thermostromsignal und Drehwinkelverlauf der Kurbelwelle unter Zuhilfenahme von Mitteln wie beispielsweise einer mit der Kurbelwelle verbundenen Impulsscheibe (21), deren winkelabhängige Signale von einem Sensor (22) erfasst und über eine Leitung (23) dem Steuergerät (14) zugeführt werden (Beschreibung Tz. 20, 31), war keine Leistung, welche die Fertigkeiten eines durchschnittlich ausgebildeten und bewanderten Fachmanns überstieg.

22
(1) Entwicklungsleistungen auf dem Gebiet des Streitpatents wurden zur Prioritätszeit, wie die Erörterung mit dem Sachverständigen ergeben hat, hauptsächlich von kleinen und mittleren Unternehmen erbracht. Mit entsprechenden Aufgabenstellungen wurden dort in erster Linie Diplomingenieure mit Fachhochschulabschluss auf dem Gebiet des Maschinenbaus oder der Elektronik mit mehrjähriger Erfahrung auf dem Gebiet der Gleitlagerung von Hubkolbenmaschinen und -motoren und mit Grundlagenkenntnissen aus dem Bereich der Messtechnik und Messsignalverarbeitung betraut, die diese in Zusammenarbeit mit Technikern angingen. Gegebenenfalls ließen sich solche Teams für die messtechnische Umsetzung von Mess- und Steuerungstechnikern unterstützen, wobei Letztere über Kenntnisse bezüglich der Messgrößenaufnahme (Erfassung von Signalen mittels Sensors), der Messsignalverarbeitung (Anpassung, Verstärkung oder Umwandlung der Signale) und der Messwertausgabe (Anzeige, Registrierung bzw. Speicherung in analoger oder digitaler Form) verfügten.

23
(2) Wie der gerichtliche Sachverständige in seinem schriftlichen Gutachten anschaulich ausgeführt und in der mündlichen Verhandlung überzeugend bestätigt hat, ist die Zuordnung eines Signals zu einer charakteristischen Größe wie dem Drehwinkel einer Kurbelwelle eine gängige und sogar notwendige Maßnahme in der Mess- und Steuerungstechnik. Drehwinkelgeber wurden demzufolge bereits in den achtziger Jahren des vergangenen Jahrhunderts auf vielen technischen Gebieten eingesetzt und auch der hier angesprochene Fachmann hatte sie als ein seinen Zwecken dienliches Instrument prinzipiell im Blick. Das zeigt sich auch darin, dass sich die europäische Patentschrift 203 910 ebenfalls dieses Hilfsmittels - unter der synonymen Bezeichnung „Winkelmarkengebers” - bedient; dort ist Gegenstand der Messungen im Unterschied zum Streitpatent lediglich nicht ein Thermostrom, sondern es werden die in ein elektrisches Signal umgewandelten Öldruckschwingungen auf der Basis von Kurbelwinkelmarken am Motor digitalisiert (Beschreibung Spalte 4, Zeile 24 f.; vgl. auch Anspruch 1 Merkmal c).

24
(3) Der in der mündlichen Verhandlung erhobene Einwand der Beklagten, der Fachmann habe gar keinen Anlass gehabt, nach einer gegenüber dem Stand der Technik alternativen Modalität für die Gewinnung eines Messsignals zu suchen, das ein signifikantes Symptom an einem konkreten Lager detektiert, sondern wäre allein auf eine Weiterentwicklung des in der europäischen Patentschrift 141 348 vorgezeigten Weges bedacht gewesen (Kupferverdrahtung einzelner Lager, vgl. dort Figur 3 und Beschreibung Sp.7 Z. 6 ff.), ist nicht stichhaltig. Die Einschätzung der Streitpatentschrift selbst ist eine andere, die sich auch nicht als rückschauend nach Auffindung der streitpatentgemäßen Lösung gewonnene Analyse des Stands der Technik darstellt. Die in der europäischen Patentschrift 141 348 vorgeschlagene zusätzliche Thermoüberwachung einzelner Schmierstellen mit vergleichender Temperaturmessung wird dort als relativ aufwendig bezeichnet. Außerdem könne eine zusätzliche Thermoüberwachung an bestimmten Lagern, wie dem Pleuellager und den Kolbenbolzen, nicht angeordnet werden (Beschreibung Tz. 3). Dementsprechend zeigen auch die Figuren dieser Entgegenhaltung eine solche zusätzliche Thermoüberwachung nur für die Grundlager. Diese Bewertung in der Beschreibung des Streitpatents hat der Sachverständige auf Nachfragen als zutreffend bestätigt, nachdem er anfänglich befürwortet hatte, auch bei exzentrisch rotierenden Lagern wie den Pleuellagern den Versuch zu unternehmen, eine den Drehungen folgende Kupferverdrahtung vorzusehen. Auf die besagte Passage in der Beschreibung der Streitpatentschrift hingewiesen hat er jedoch bestätigt, dass der zur Prioritätszeit tätige Fachmann die Dinge so eingeschätzt hätte, wie dies in der Streitpatentschrift zum Ausdruck kommt.

25
(4) Hinzu kommt im Übrigen, dass, wie der Sachverständige ebenfalls überzeugend ausgeführt hat, die Lokalisierung von Schadensstellen auf der Grundlage der Lehre der europäischen Patentschrift 141 348 infolge von aussageneutralen Spannungsschwankungen im Thermostrom mit Unsicherheiten behaftet war und nicht sicher zu erkennen war, wann ein neues Arbeitsspiel begann. Aus fachmännischer Sicht bestand deshalb Anlass, diesen Nachteil zu beheben, was durch Einsatz von Drehwinkelgebern erfolgen konnte, weil diese es, eingestellt auf einen bestimmten Bezugspunkt wie den oberen oder unteren Totpunkt des Kurbelwellenhubs, ermöglichen, genau zu erkennen, an welcher Stelle im Ablauf eines Arbeitsspiels ein signifikantes Signal auftritt.

26
(5) Mit Blick darauf, dass Drehwinkelgeber in weiten, auch das Gebiet des Streitpatents einschließenden Bereichen seit langem bekannt und verbreitet waren und auch die europäische Patentschrift 203 910 diese Messtechnik vorschlägt (vgl. oben II 2 a bb), kann der Beklagten auch nicht in der Ansicht gefolgt werden, der vom Streitpatent eingeschlagene Weg stelle eine Abkehr vom technisch Üblichen dar.

27
(6) Ihr kann insbesondere auch nicht darin beigepflichtet werden, der Fachmann hätte die europäische Patentschrift 203 910 gar nicht zurate gezogen. Der Einwand beruht auf einer rückschauenden Betrachtung. Der zur Prioritätszeit mit der im Streitpatent formulierten Aufgabe befasste Fachmann hätte, selbst wenn er eine Weiterentwicklung auf der Basis der Messung von Thermostrom bevorzugte, die genannte Schrift nicht von vornherein von der Lektüre ausgeschlossen, nur weil sie im Ausgangspunkt eine andere Messmethode postulierte (Messung von Druckschwingungen im Ölkreislauf anstelle der Messung des Thermostroms). Das vom Streitpatent zu lösende Problem bestand in der Auffindung eines zusätzlichen Parameters, mit dem das allgemeine Signal (fließender Thermostrom, Öldruckschwankungen) einem bestimmten Lager zugeordnet werden konnte. Steht der Fachmann vor dem Problem, eine angewandte technische Methode durch weitere Schritte zu verfeinern, wird er sich von der genauen Analyse einer grundsätzlich einschlägigen Vorveröffentlichung nicht deshalb von vornherein abhalten lassen, weil diese im Ausgangspunkt eine andere als die von ihm favorisierte (Mess-)Methode vorsieht. Aufgrund seines allgemeinen Erfahrungswissens rechnet er stets mit der Möglichkeit, dass dort gegebenenfalls vorgeschlagene weitere Schritte sich als verallgemeinerungsfähig und in dem ihm selbst vorschwebenden Lösungsweg verwendbar erweisen könnten.

28
So verhält es sich hier. Die europäische Patentschrift 203 910 gab dem Fachmann, sofern vor dem Hintergrund seines Fachwissens überhaupt noch erforderlich, den Hinweis, dass Kurbelwinkelmarken zur Signalkorrelation infrage kommen und aufgrund seines allgemeinen Fachwissens erkannte er, dass diese Methode nicht nur bei auf Öldruckschwankungen basierenden Überwachungssystemen einsetzbar ist, sondern ebenso gut bei einer thermostrombasierten Detektion in Betracht gezogen werden kann.

29
cc) Die gemäß Merkmal 3 vorgesehene Maßnahme, dass beim Auftreten eines signifikanten Symptoms ein Steuersignal für einen Schaden an einem bestimmten Gleitlager ausgegeben wird, erforderte ebenfalls keine überdurchschnittliche fachmännische Leistung. Dementsprechend ist dies auch nicht im Detail zum Gegenstand der beanspruchten Lehre gemacht worden, sondern die konkrete Ausgestaltung wird als vom Fachmann umsetzbar vorausgesetzt.

30
b) Die auf Patentanspruch 1 rückbezogenen Unteransprüche weisen aus den vom Patentgericht ausgeführten Gründen keinen eigenständigen erfinderischen Gehalt auf.

Das gilt entgegen der Auffassung der Beklagten auch für Anspruch 3. Dass die präzise rechnerische Erfassung der Kurbelwellenverlagerungsbahn den Ausführungen des Sachverständigen zufolge äußerst komplex ist und verschiedene physikalische Effekte berücksichtigen muss, sowie dass nur wenige Personen die mathematischen und physikalischen Modellierungstechniken auf diesem Gebiet vollends beherrschen, ergibt nichts für die Frage, ob die Auffindung des Gegenstands von Patentanspruch 3 als auf einer erfinderischen Tätigkeit beruhend gelten kann. Der Gegenstand des Streitpatents dient nicht der präzisen rechnerischen Erfassung einzelner Kurbelwellenverlagerungsbahnen, sondern der Fachmann versteht die Anweisung in Patentanspruch 3, wie die Erörterung mit dem Sachverständigen ergeben hat, dahin, insoweit auf vorhandene Werte und Daten zurückzugreifen. Das Streitpatent betrifft auch nicht selbst die Einsicht, sondern macht sich die Erkenntnis zunutze, dass die Schmiermitteldicke sich im Verlauf eines Arbeitsspiels infolge der Kurbelwellenverlagerung verändert und dass dies periodisch wiederkehrend geschieht, so dass auf der Grundlage eines zur Verfügung stehenden Drehwinkelgebers die Kurbelwellenverlagerungsbahn als Parameter gewählt werden kann, um das Steuersignal einem bestimmten Gleitlager zuzuordnen. Auf diesen Vorschlag beschränkt sich die Lehre in Anspruch 3. Das rechtfertigte nur dann die Annahme einer erfinderischen Tätigkeit, wenn bereits die gedankliche Verknüpfung von Kurbelwinkel und Messsignal auf der einen und einer vorab berechneten Kurbelwellenverlagerungsbahn auf der anderen Seite eine von einem durchschnittlich bewanderten und befähigten Fachmann nicht zu erwartende Leistung darstellte. Davon kann jedoch nicht ausgegangen werden. Auch wenn Kurbelwellenverlagerungsbahnen, wie ausgeführt, äußerst schwierig rechnerisch zu erfassen sind, bedeutet das nicht, dass ein durchschnittlich ausgebildeter und erfahrener Fachmann keinen Begriff von solchen Bahnen und ihrer grundsätzlichen Eignung hat, als Parameter für die Überwachung von Gleitlagern in Hubkolbenmaschinen herangezogen zu werden. Es ist vielmehr zu bedenken, dass der hier tätige Fachmann nicht nur über einen Fachhochschulabschluss verfügt, sondern auch über einige praktische Erfahrungen auf dem Gebiet der Gleitlagerüberwachung. Deshalb liegt es nicht außerhalb durchschnittlicher fachmännischer Möglichkeiten, den Parameter der Kurbelwellenverlagerungsbahn in Beziehung zu Kurbelwinkel und Steuersignal zu setzen.

31
c) Die mit Patentanspruch 7 unter Schutz gestellte Einrichtung zur Durchführung des Verfahrens nach einem der Ansprüche 1 bis 6 kann ebenso wenig als auf einer erfinderischen Tätigkeit beruhend gelten, wie diese Verfahrensansprüche selbst.

Es handelt sich bei dem Anspruch um einen Sachanspruch, mit dem ein Steuergerät unter Schutz gestellt wird, mit welchem das Verfahren nach Anspruch 1 bis 6 umgesetzt werden kann. Es sieht über die Merkmale dieser Ansprüche hinaus lediglich ein mittels Leitungen mit dem Gehäuse und der Kurbelwelle verbindbares Steuergerät vor, welches Mittel enthält, um die Verfahrensschritte nach Merkmalsgruppe 2 und Merkmal 3 von Patentanspruch 1 umzusetzen. Ein Steuerungsgerät mit solchen Mitteln vorzusehen, übersteigt die durchschnittlichen Möglichkeiten des von einem Mess- und Steuerungstechniker zur messtechnischen Umsetzung unterstützten Fachmanns nicht. Einrichtungsbausteine, die den Unteransprüchen 8 bis 12 genügen, sind, wie der gerichtliche Sachverständige überzeugend ausgeführt hat, im Bereich der Motorenüberwachung seit langem Stand der Technik und waren bereits vor dem Prioritätstag realisiert worden. Die streitpatentgemäße Einrichtung besteht im Wesentlichen aus einem Steuer- und Übermittlungsgerät einschließlich Schleifringüberträgern, sowie einem Drehwinkelgeber und koppelbarem Beschleunigungsgeber. Solche Bauteile und Komponenten gehören nach den unwidersprochen gebliebenen Ausführungen des Sachverständigen im Allgemeinen zur Grundstruktur eines jeden Messsystems und damit auch zum messtechnischen Grundwerkzeug jedes Ingenieurs oder Messtechnikers, der statische und dynamische Messungen auf sich drehenden Wellen durchführt.

32
III. Die Kostenentscheidung beruht auf § 121 Abs. 2 Satz 2 PatG i.V.m. § 97 Abs. 1 ZPO.

VRiBGH Scharen ist Gröning Berger infolge Eintritts in den Ruhestand an der Beifügung seiner Unterschrift gehindert Gröning Grabinski Hoffmann
-----------------------------------------------------
Die von uns erfassten Urteile wurden oft anders formatiert als das Original. Dies bedeutet, daß Absätze eingefügt und Hervorhebungen durch fett-/kursiv-/&farbig-machen sowie Unterstreichungen vorgenommen wurden. Dies soll verdeutlichen, aber keinesfalls natürlich den Sinn verändern.Wenn Sie vorsichtshalber zusätzlich die Originalversion sehen möchten, hier ist der Link zur Quelle (kein Link? Dann ist dieser Link nicht in unserer DB gespeichert, z.B. weil das Urteil vor Frühjahr 2009 gespeichert worden ist).